EasyManua.ls Logo

Lycomin 0-360 - Page 122

Default Icon
171 pages
Print Icon
To Next Page IconTo Next Page
To Next Page IconTo Next Page
To Previous Page IconTo Previous Page
To Previous Page IconTo Previous Page
Loading...
TEXTRON
LYCOMING
OPERATOR'S
MANUAL
SECTION
5
0-360
and ASSOCIATED
MODELS
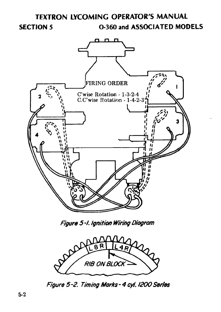
Figure
5-1.
Ignition
Wiring
Diagrom
Figure 5-2. Timing Marks- 4 cyl. 1200 Series
5-2