EasyManua.ls Logo

mabe MSC504SORBS0 - Structure and Functions

mabe MSC504SORBS0
Print Icon
To Next Page IconTo Next Page
To Next Page IconTo Next Page
To Previous Page IconTo Previous Page
To Previous Page IconTo Previous Page
Loading...
47
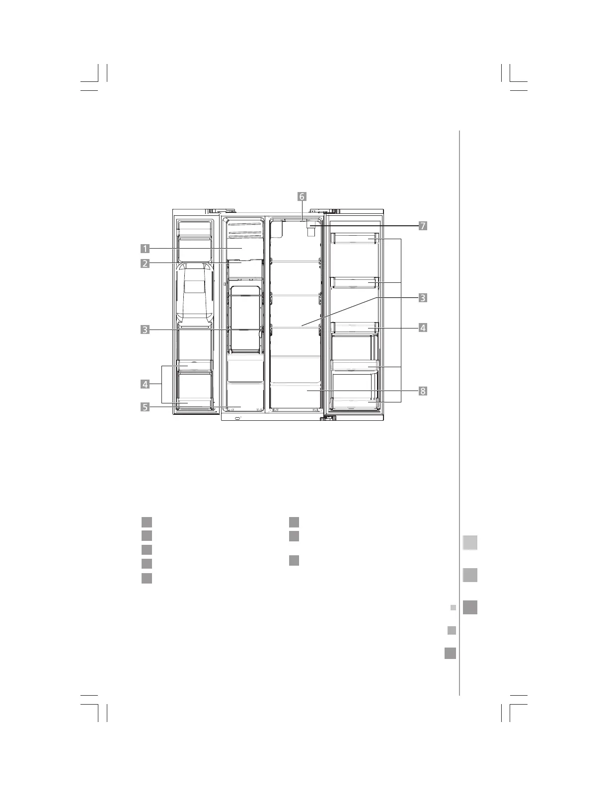
structure and functions
(Internal lter only on some models)
8
7
6
3
2
1
Ice maker and ice cubes bin.
LED lamp.
Glass shelves.
Door trays.
Drawer.
LED lamp.
Filter assembly (only on some
models).
Fruit and vegetables drawer.
4
5
Freezer compartment Fresh food compartment
Model SxS 504
This illustration should be used as a reference only. Actual congu-
ration depends on the physical product.

Table of Contents

Related product manuals