EasyManua.ls Logo

Makita LS1221 - Page 23

Makita LS1221
32 pages
Print Icon
To Next Page IconTo Next Page
To Next Page IconTo Next Page
To Previous Page IconTo Previous Page
To Previous Page IconTo Previous Page
Loading...
23
CAUTION:
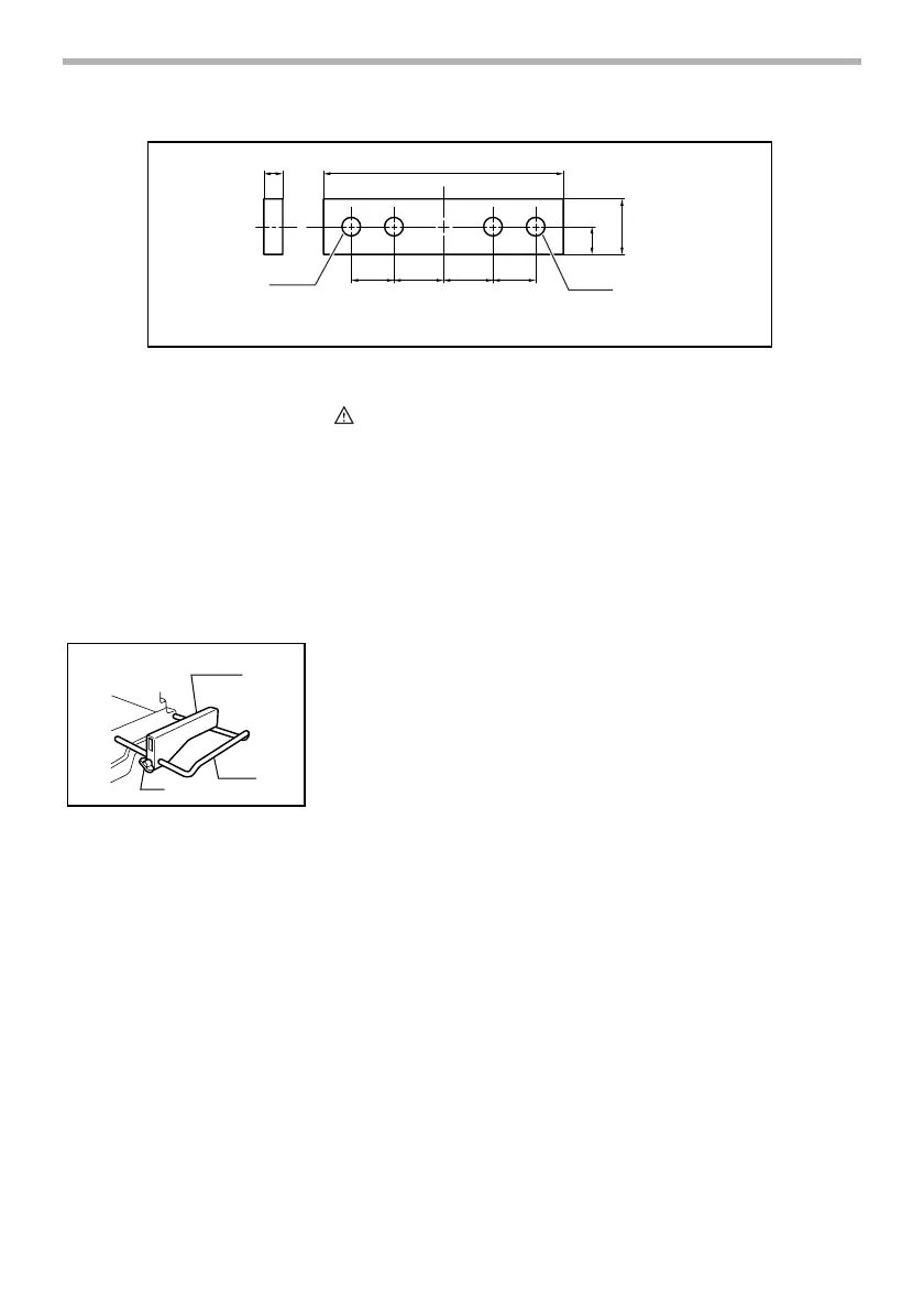
Use straight wood of even thickness as the wood facing.
Use screws to attach the wood facing to the guide fence.
The screws should be installed so that the screw heads
are below the surface of the wood facing.
When the wood facing is attached, do not turn the turn
base with the handle lowered. The blade and/or the
wood facing will be damaged.
8. Cutting repetitive lengths
When cutting several pieces of stock to the same length,
ranging from 295 mm (11 - 5/8) to 440 mm (17 x 1/4),
use of the set plate (optional accessory) will facilitate
more efficient operation. Install the set plate on the
holder as shown in the figure.
Align the cutting line on your workpiece with either the
left or right side of the groove in the kerf board, and while
holding the workpiece from moving, move the set plate
flush against the end of the workpiece. Then secure the
set plate with the screw. When the set plate is not used,
loosen the screw and turn the set plate out of the way.
NOTE:
Use of the holder-rod assembly (optional accessory)
allows cutting repetitive lengths up to 2,200 mm (7.2 ft.)
approximately.
1. Hole
Over 10mm (3/8) Over 580mm (22-3/4)
1
1
98mm (3-7/8)
28mm (1-1/8)
105mm
(4-1/8)
105mm
(4-1/8)
115mm
(4-1/2)
115mm
(4-1/2)
001845
1. Set plate
2. Holder
3. Screw
1
2
3
001846

Other manuals for Makita LS1221

Related product manuals