EasyManua.ls Logo

Manitowoc QR0670C - Ice Thickness Check

Manitowoc QR0670C
204 pages
Print Icon
To Next Page IconTo Next Page
To Next Page IconTo Next Page
To Previous Page IconTo Previous Page
To Previous Page IconTo Previous Page
Loading...
–32–
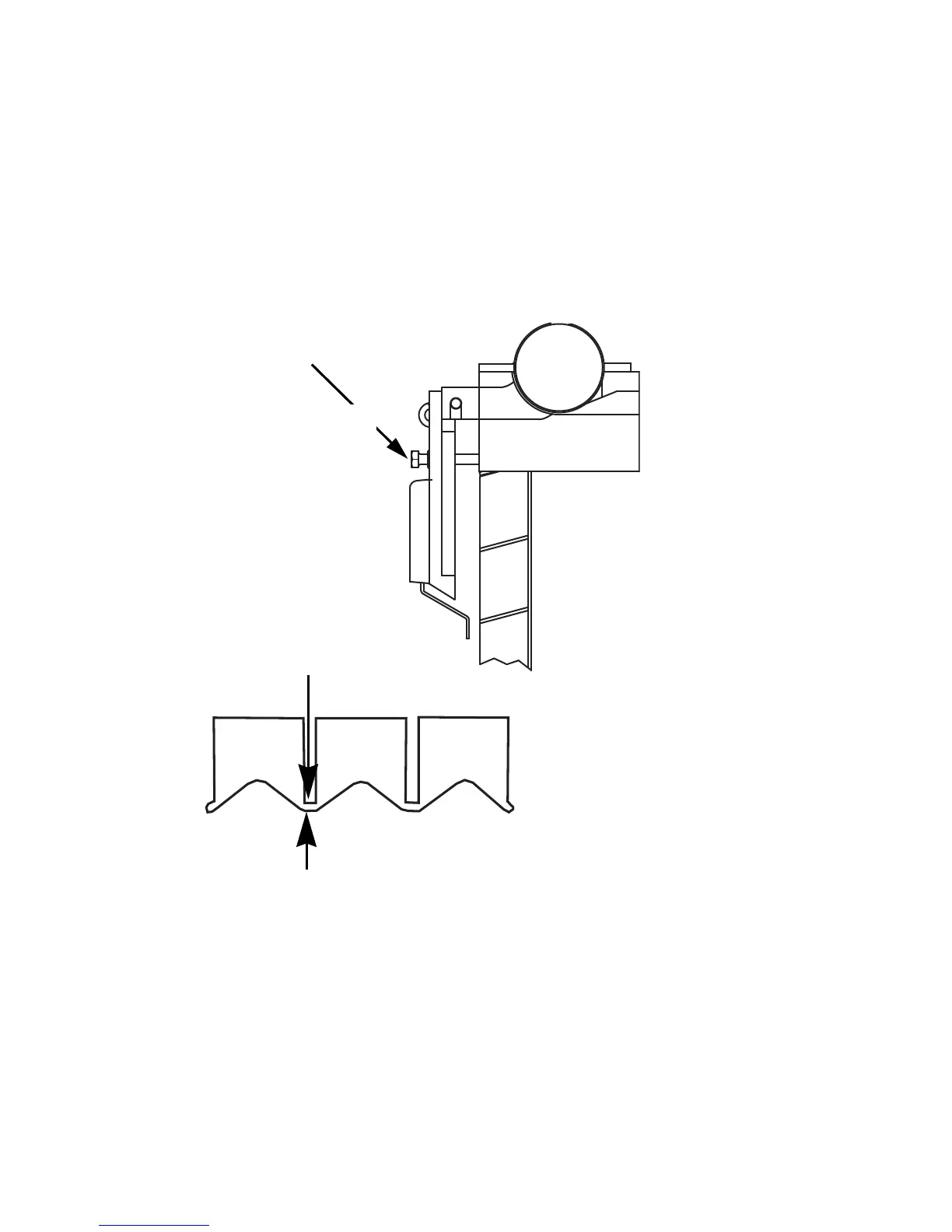
ICE THICKNESS CHECK
After a Harvest cycle, inspect the ice cubes in the ice
storage bin. The ice thickness probe is set to maintain
an ice bridge of 1/8 in. (3.2 mm). If an adjustment is
needed, follow the steps below.
1. Turn the ice thickness probe adjustment screw
clockwise for a thicker ice bridge, or
counterclockwise for a thinner ice bridge.
2. Make sure the ice thickness probe wire and bracket
do not restrict movement of the probe.
SV3113
ADJUSTING
SCREW
1/8 IN. ICE BRIDGE
THICKNESS
ICE THICKNESS ADJUSTMENT
1/8” ICE BRIDGE THICKNESS

Table of Contents

Related product manuals