EasyManua.ls Logo

Manitowoc S model - Harvest Sequence Water Purge Adjustment

Manitowoc S model
72 pages
Print Icon
To Next Page IconTo Next Page
To Next Page IconTo Next Page
To Previous Page IconTo Previous Page
To Previous Page IconTo Previous Page
Loading...
Section 3 Ice Machine Operation
Part Number 000002477 3/08 3-7
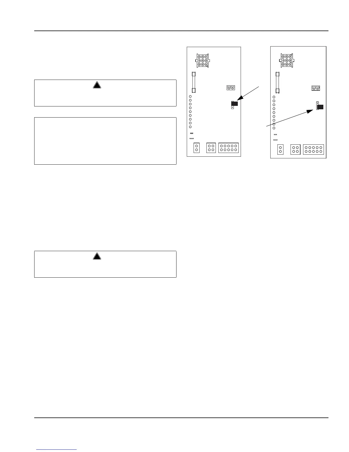
HARVEST SEQUENCE WATER PURGE
The harvest sequence water purge adjustment may be
used when the ice machine is hooked up to special
water systems, such as a de-ionized water treatment
system.
The harvest sequence water purge is factory set for
45 seconds. Repositioning the jumper will set the
harvest water purge to 0 seconds. This setting does
not affect the SeCs or AuCs (cleaning) sequences.
During the harvest sequence water purge, the water
fill valve energizes and de-energizes by time. The
water purge must be at the factory setting of 45
seconds for the water fill valve to energize during the
last 15 seconds of the water purge. If it is set to less
than 45 seconds, the water fill valve will not energize
during the water purge.
Water Purge Adjustment
For your safety and to eliminate errors, we recommend
that a qualified service technician make the harvest
water purge adjustment.
!
Warning
Disconnect electric power to the ice machine at the
electrical disconnect before proceeding.
Important
The harvest sequence water purge is factory-set at
45 seconds. A shorter purge setting (with standard
water supplies such as city water) is not
recommended. This can increase water system
cleaning and sanitizing requirements.
!
Warning
Disconnect the electrical power to the ice machine
at the electrical disconnect before proceeding.
45 second
setting
0 second
setting
SV3139
SV3140

Table of Contents

Other manuals for Manitowoc S model

Related product manuals