EasyManua.ls Logo

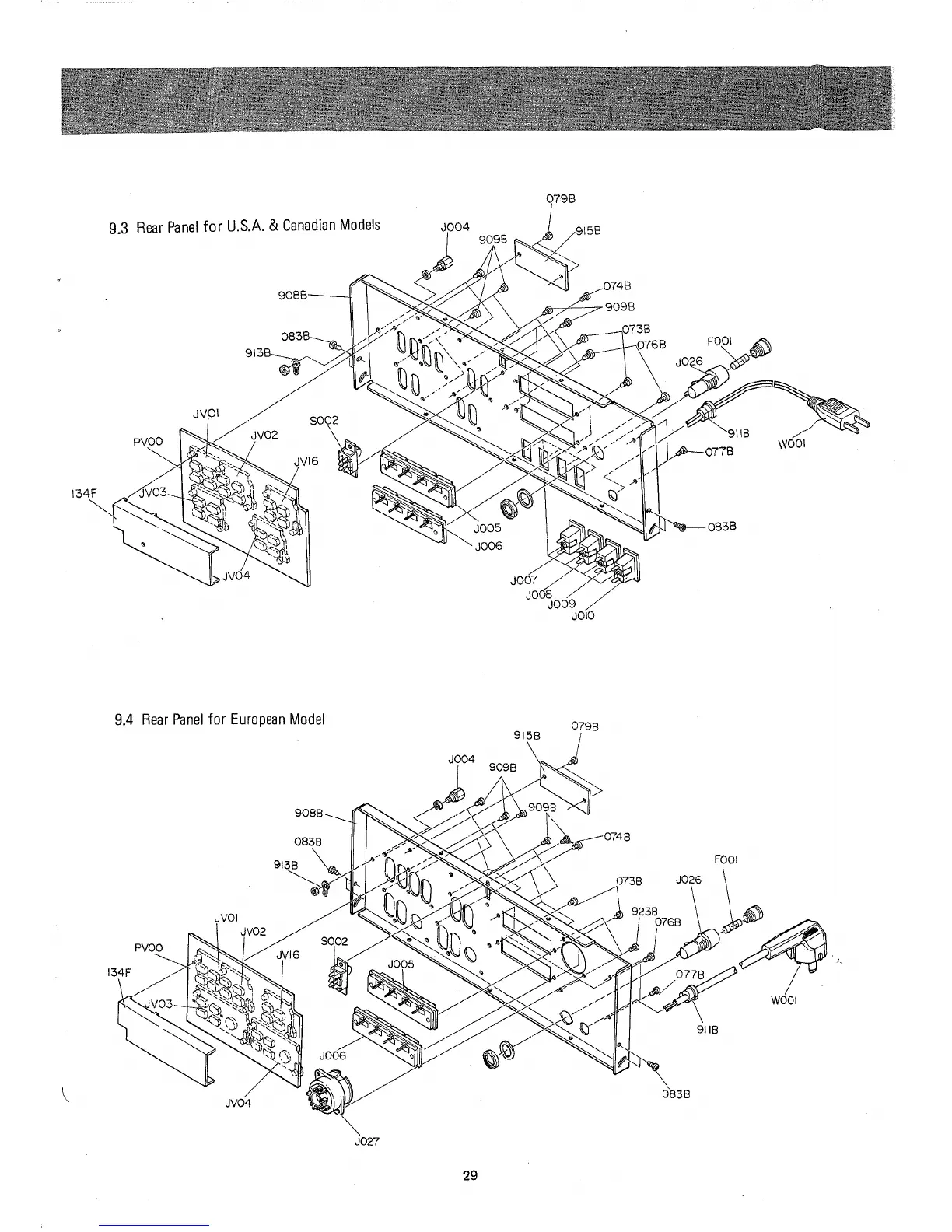
Marantz 1152DC - 9.3 Rear Panel Exploded View (USA;Canada); 9.4 Rear Panel Exploded View (European)

Marantz 1152DC
32 pages
Print Icon
To Next Page IconTo Next Page
To Next Page IconTo Next Page
To Previous Page IconTo Previous Page
To Previous Page IconTo Previous Page
Loading...

Related product manuals