EasyManua.ls Logo

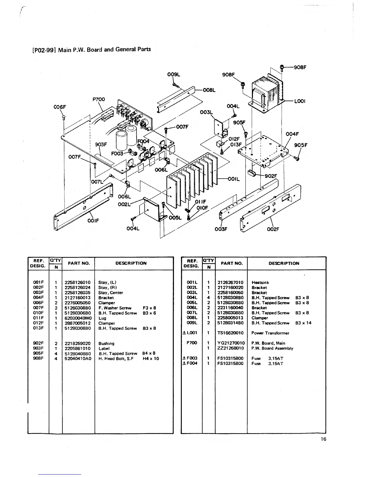
Marantz PM200 - Main P.W. Board and General Parts

Marantz PM200
22 pages
Print Icon
To Next Page IconTo Next Page
To Next Page IconTo Next Page
To Previous Page IconTo Previous Page
To Previous Page IconTo Previous Page
Loading...

Related product manuals