EasyManua.ls Logo

Marantz PMD331 - Playing a CD; Starting and Monitoring Playback; Pausing and Resuming Playback

Marantz PMD331
27 pages
Print Icon
To Next Page IconTo Next Page
To Next Page IconTo Next Page
To Previous Page IconTo Previous Page
To Previous Page IconTo Previous Page
Loading...
7
ENGLISH
FRANCAIS
DEUTSCH
NEDERLANDS
ESPANOLITALINO PORTUGUES
SVENSKA
DANSK
DANSK
SVENSKAPORTUGUES ITALINOESPANOL NEDERLANDSDEUTSCH
FRANCAIS
ENGLISH
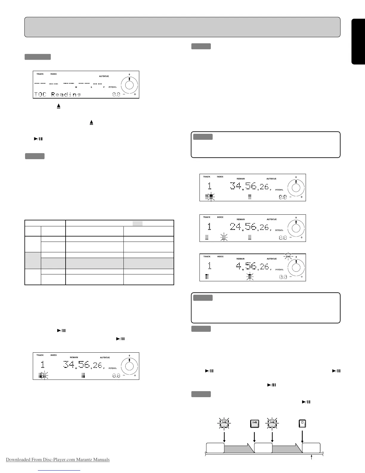
Playing a CD
Procedure
1. Press the POWER button q to turn on the power.
2. Press the
button y.
When the disc tray w opens, place a disc on the tray with the
label facing up. Press the
button y again to close the tray.
(It is also possible to close the tray by pressing on it gently. )
The button !7 flashes, and the CD player pauses at the begin-
ning of the first track.
Tips:
- The track operation to be performed after a track is selected,
after the tray is closed, or after the power is turned on can be
selected through a combination of No.1 “AutoCue:” and No.13
Start:” from the Preset menu.
Track operation selected through combination of “AutoCue:
and “Start.”
- If “AutoCue:” is set to “ON” in the Preset menu, the autocue
function will search for audio that is > – 40dB (Initial value)
and then pause at that point.
(See also page 17.)
Action (Initial values bold)
Tip:
If preset menu item No.19 ”Alert:” is set to “On, playback
time display D stops when the sound is interrupted, and “Inter-
ruption” is displayed in the display section E.
To restore the normal elapsed time display, press any button.
PMD331/PMD340 only:
If preset menu item No.15 “D.OUT:” is set to “Off, the shock-
proof feature is enabled.
The shockproof feature allows playback to continue without any
interruption in sound (up to 10 seconds) due to data dropout if
the player is subjected to a strong physical shock.
Note:
The contents of the time display vary if the playing time dis-
play is switched. (See also page 8.)
At the start of a track
In the middle of a track
At the end of a track
When the last track is finished, the disc automatically stops.
Note:
The operation of the CD player at the end of playback varies
according to the playback mode.
(See also page 14.)
Tip:
You can select (through the Preset menu) to have “END” flash
on the display C during the last 0 to 35 seconds of a track.
(See also page 17.)
Pausing Playback
If the button !7 is pressed while a CD is playing, the
button !7 will blink and playback is paused.
To resume playback, press the button !7 again.
Tip:
The changes in the playback state when the button !7 is
pressed are illustrated below.
3. Press the button !7.
As soon as this button is pressed, the
button !7 lights and
playback begins.
The track numberA currently being played and the remaining
playing timeD are shown on the display t. At the bottom of
the displayE, the 10-segment bar indicates the playback po-
sition.
PLAY
Press Press
PLAY
Press Press
DISC
PAUSE PAUSE STOP
REMAIN
Playing a CD
Preset Menu
“Start:” “AutoCue:”
Stop
Pause
Play
Off
Off
Off
On
On
On
After track selection
After tray closing or
at Power On:
Stop
Stop
Pause track 1
Autocue & Pause track 1
Play track 1
Autocue & pause track 1
Play seleted track
Autocue & Pause selected
track
Pause selected track
Autocue & Pause selected
track
Play selected track
Autocue & Pause selected
track
Downloaded From Disc-Player.com Marantz Manuals

Other manuals for Marantz PMD331

Related product manuals