EasyManua.ls Logo

Marantz PMD331 - Using the Pitch Controls (PMD331;PMD340); Pitch Bend Control and Speed Adjustment; Restoring Normal Playback Speed; A-B Repeat Function

Marantz PMD331
27 pages
Print Icon
To Next Page IconTo Next Page
To Next Page IconTo Next Page
To Previous Page IconTo Previous Page
To Previous Page IconTo Previous Page
Loading...
10
ENGLISH
FRANCAIS
DEUTSCH
NEDERLANDS
ESPANOLITALINO PORTUGUES
SVENSKA
DANSK
DANSK
SVENSKAPORTUGUES ITALINOESPANOL NEDERLANDSDEUTSCH
FRANCAIS
ENGLISH
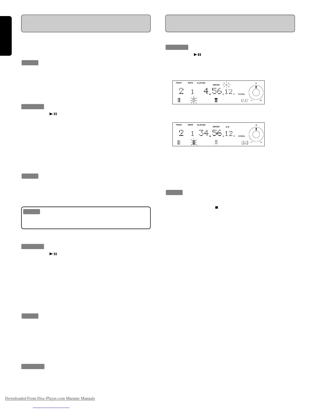
Using the A-B Repeat Function
Procedure
1. Press the button !7 to begin playing a CD.
2. While the CD is either playing or paused at the desired position,
press the A-B button @5. The starting point is stored, and “A -”
flashes.
3. While the CD is either playing or paused at the desired position,
press the A-B button @5. Point B is stored, and “A-B” lights.
Playback starts from point A, and then the segment between
points A and B plays repeatedly.
Clearing Points A and B
Pressing the A-B button @5 while A-B Repeat playback is in
progress clears points A and B.
Tip:
Points A and B are cleared not only if the A-B button @5 is
pressed, but also if the
button !2 is pressed (stopping play-
back), or if a scan search or direct search is performed.
Using the Pitch Controls
PMD331/PMD340 Only
The disc playback speed can be adjusted by a maximum of
+/– 12% in 0.1% increments.
Tip:
When playing two CD players simultaneously, it is possible to
use the pitch bend function on one player to easily adjust the
playback speed so that both CD players are in unison.
Increasing the Disc Playback Speed
Procedure
1. Press the button !7 to begin playing a CD.
2. Press the PITCH ON/OFF button @6 to turn on the pitch control
function.
3. Turn PITCH/SEARCH DIAL @0 clockwise.
- Turn the dial approximately 10 degrees to increase the playback
speed by 0.1%.
- PITCH/SEARCH DIAL @0 shows up to +12%.
4. While the PITCH BEND + @7 button is pressed, the playback
speed increases temporarily by up to 8%.
Tip:
The disc playback speed changes rapidly when the PITCH
BEND + @7 button is pressed. As soon as you release the
button, the playback speed immediately returns to the speed
that was in effect before the button was pressed.
Note:
If “D.OUT” has been set to “On” in the presets, the pitch bend
function will not work.
Decreasing the Disc Playback Speed
Procedure
1. Press the button !7 to begin playing a CD.
2. Press the PITCH ON/OFF button @6 to turn on the pitch control
function.
3. Turn PITCH/SEARCH DIAL @0 to the counterclockwise.
- Turn the dial approximately 10 degrees to decreases the
playback speed by 0.1%.
- The PITCH/SEARCH DIAL @0 shows up to –12%.
4. While the PITCH BEND – @8 button is pressed, the playback
speed decreases temporarily by up to 8%.
Tip:
The disc playback speed changes rapidly when the PITCH
BEND – @8button is pressed. As soon as you release the
button, the playback speed immediately returns to the speed
that was in effect before the button was pressed.
Restoring the Normal Playback Speed
Procedure
1. Press the PITCH ON/OFF button @6 and the playback speed
returns to normal.
Using the A-B Repeat Function
Downloaded From Disc-Player.com Marantz Manuals

Other manuals for Marantz PMD331

Related product manuals