EasyManua.ls Logo

Marantz SD1000 - Exploded Views and Parts List; Flywheel Assembly Parts List; Tape Operation Switch Locations

Marantz SD1000
32 pages
Print Icon
To Next Page IconTo Next Page
To Next Page IconTo Next Page
To Previous Page IconTo Previous Page
To Previous Page IconTo Previous Page
Loading...
e(U):
for
U.S.A.
e(C):
for
Canada
e(N):
for
Europe
@(A):
for
Australia
DESCRIPTION
Retainer
Assembly,
Flywheel
Washer
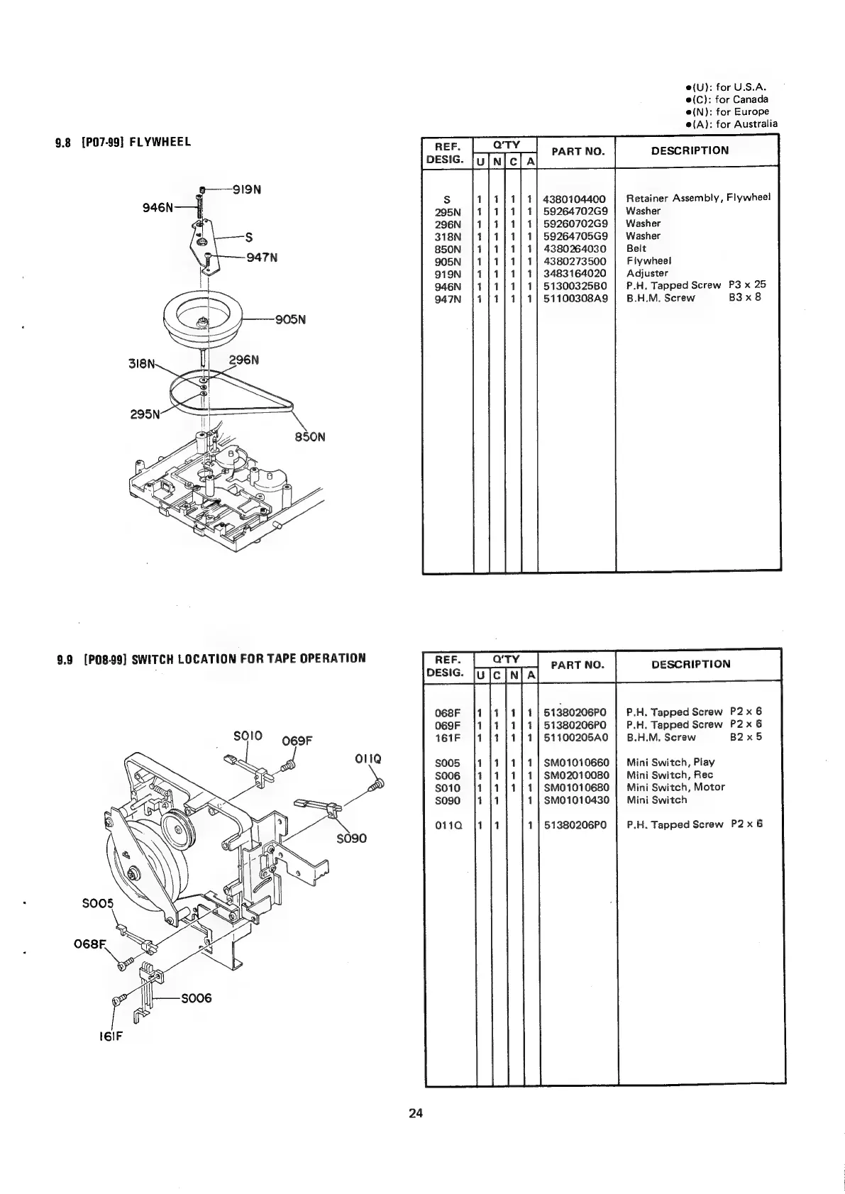
9.8
[P07-99]
FLYWHEEL
PART
NO.
4380104400
59264702G9
59260702G9
|
Washer
59264705G9
|
Washer
4380264030
Belt
947N
4380273500
Flywheei
3483164020
Adjuster
51300325B0
P.H.
Tapped
Screw
P3
x
25
51100308A9
|
B.H.M.
Screw
B3
x8
905N
3I8N
296N
9.9
[P08.99]
SWITCH
LOCATION
FOR
TAPE
OPERATION
51380206P0
P.H.
Tapped
Screw
P2x6
51380206P0
P.H.
Tapped
Screw
P2x
6
51100205A0
B.H.M.
Screw
B2x5
SM01010660
|
Mini
Switch,
Play
SM02010080
|
Mini
Switch,
Rec
$M01010680
|
Mini
Switch,
Motor
$M01010430
|
Mini
Switch
51380206P0
P.H.
Tapped
Screw
P2x
6
24

Related product manuals