EasyManua.ls Logo

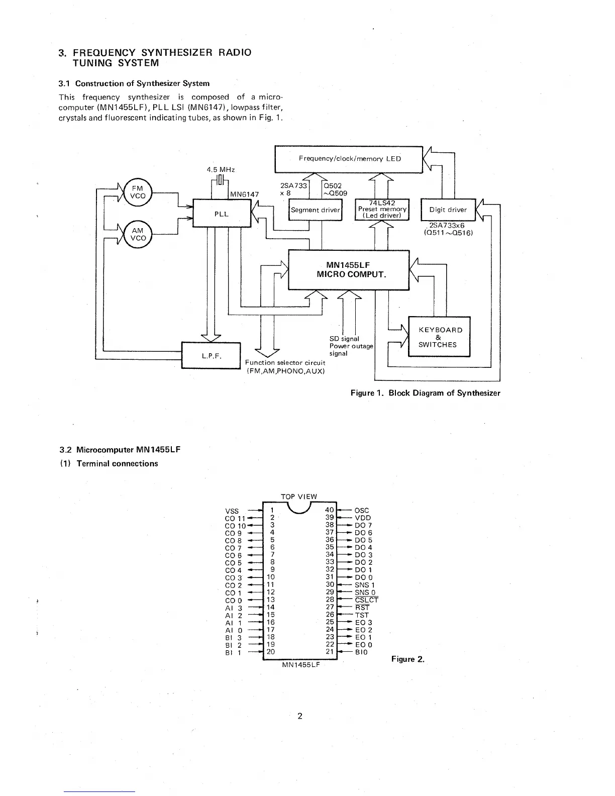
Marantz SR7100DC - Frequency Synthesizer Radio Tuning System; Construction of Synthesizer System; Microcomputer; Terminal Connections

Marantz SR7100DC
47 pages
Print Icon
To Next Page IconTo Next Page
To Next Page IconTo Next Page
To Previous Page IconTo Previous Page
To Previous Page IconTo Previous Page
Loading...

Related product manuals