EasyManua.ls Logo

Marantz SR7500/A1B - Page 51

Marantz SR7500/A1B
192 pages
Print Icon
To Next Page IconTo Next Page
To Next Page IconTo Next Page
To Previous Page IconTo Previous Page
To Previous Page IconTo Previous Page
Loading...
71
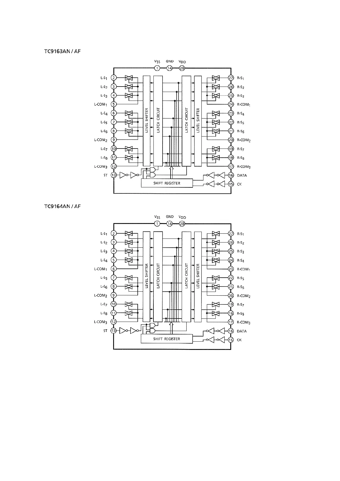
IC23 (INPUT PCB) : TC9162AN
IC21 (INPUT PCB) : TC9164AN

Related product manuals