EasyManua.ls Logo

Mariner 135 OPTIMAX - Fuel Pump

Default Icon
490 pages
Print Icon
To Next Page IconTo Next Page
To Next Page IconTo Next Page
To Previous Page IconTo Previous Page
To Previous Page IconTo Previous Page
Loading...
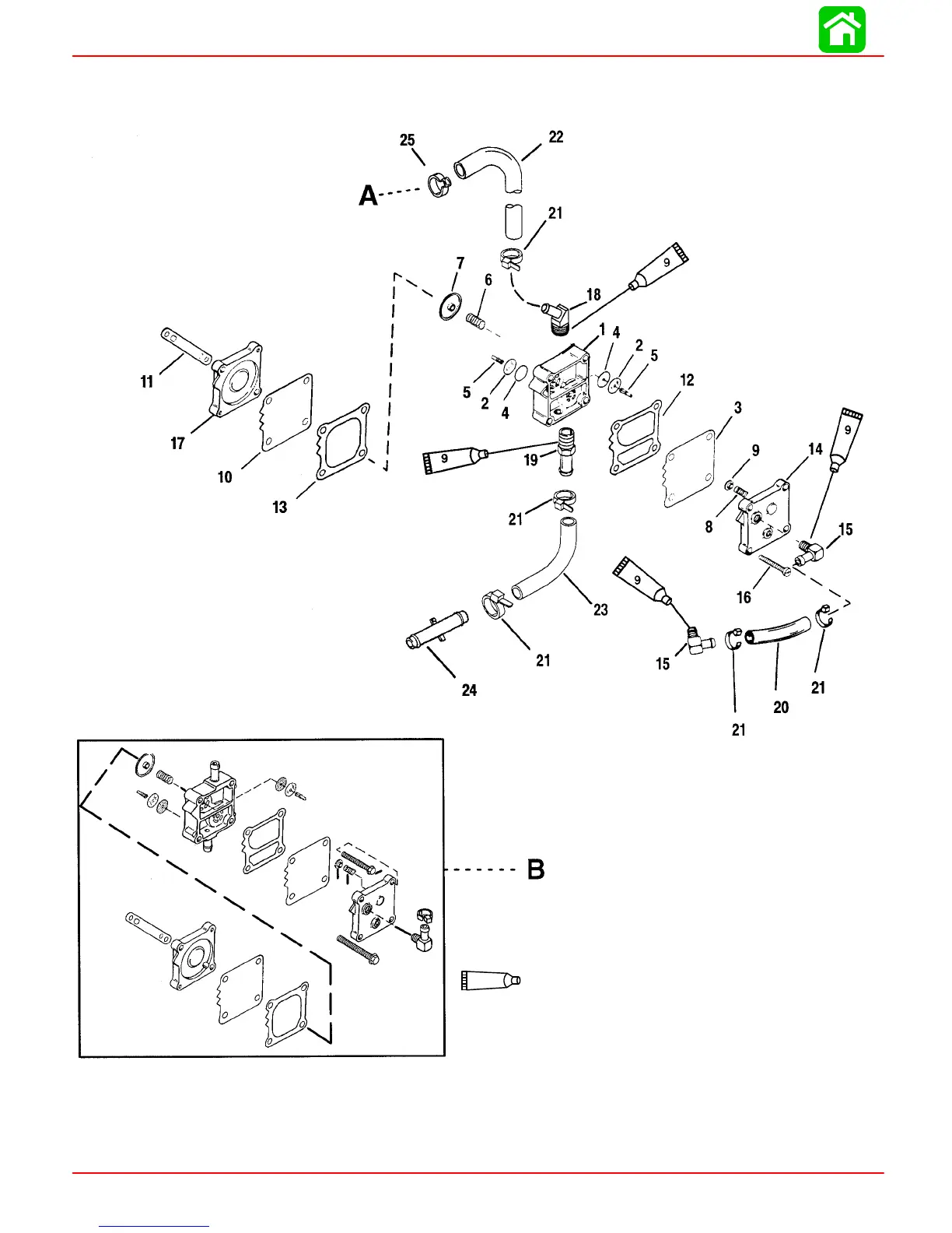
FUEL PUMP
Page 3A-2 90-855347R1 JANUARY 1999
Fuel Pump
Loctite PST Pipe Sealant (92-809822)
9
A = TO VAPOR SEPARATOR FUEL INLET FITTING
B = REFER TO SERVICE BULLETIN 98--8

Table of Contents

Related product manuals