EasyManua.ls Logo

Mark FBA - 5-Speed Switching Device Diagrams

Mark FBA
20 pages
Print Icon
To Next Page IconTo Next Page
To Next Page IconTo Next Page
To Previous Page IconTo Previous Page
To Previous Page IconTo Previous Page
Loading...
11
5-speed switching device, 5 speeds 400V (Engine 001)
5-speed switching device, 5 speeds 230V (Engine 003)
12
11
14
N
L
L
5-wire
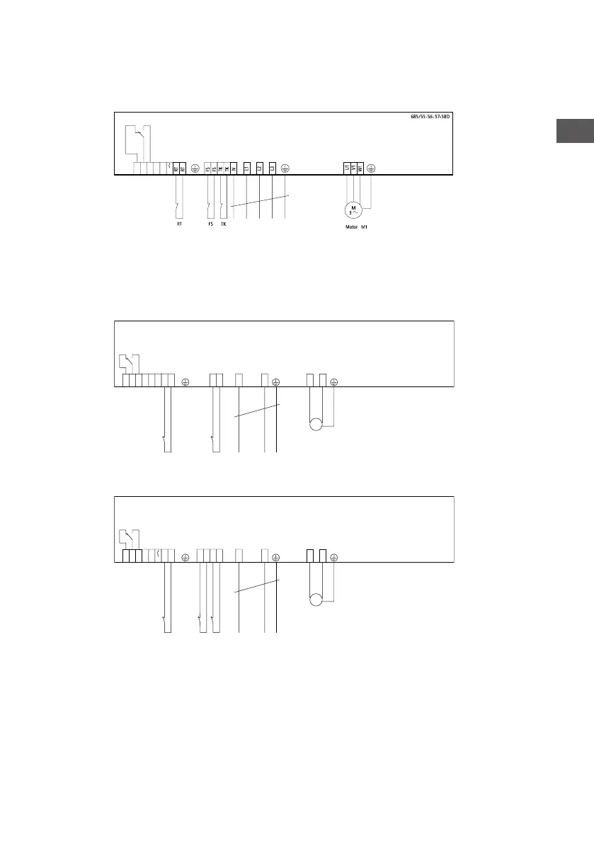
FS=Frost protection thermostat
RT=Room thermostat
TK=Thermocontact
Location
supply fuses
1U
2U
11
685/54E
12
14
N
L
L
RT
RT
250 V AC
max. 2A
250 V AC
max. 1A
RT
FS
FS
TK
TK
L1
N
FS TK
M
1 ~
1U
2U
11
685/52-53E
12
14
1
2
3
6
7
250 V AC
max. 2A
250 V AC
max. 1A
RT
4
5
L1
N
TK
M
1 ~
RT=Room thermostat
TK=Thermocontact
RT=Room thermostat
FS=Frost protection thermostat
TK=Thermocontact
3-wire
3-wire
Location
supply
fuses
Location
supply
fuses
EN

Related product manuals