EasyManua.ls Logo

Masterbuilt MB20051620 - Page 17

Masterbuilt MB20051620
28 pages
Print Icon
To Next Page IconTo Next Page
To Next Page IconTo Next Page
To Previous Page IconTo Previous Page
To Previous Page IconTo Previous Page
Loading...
45
25
5
24
A
3
X4
A
ASSEMBLY
6
A
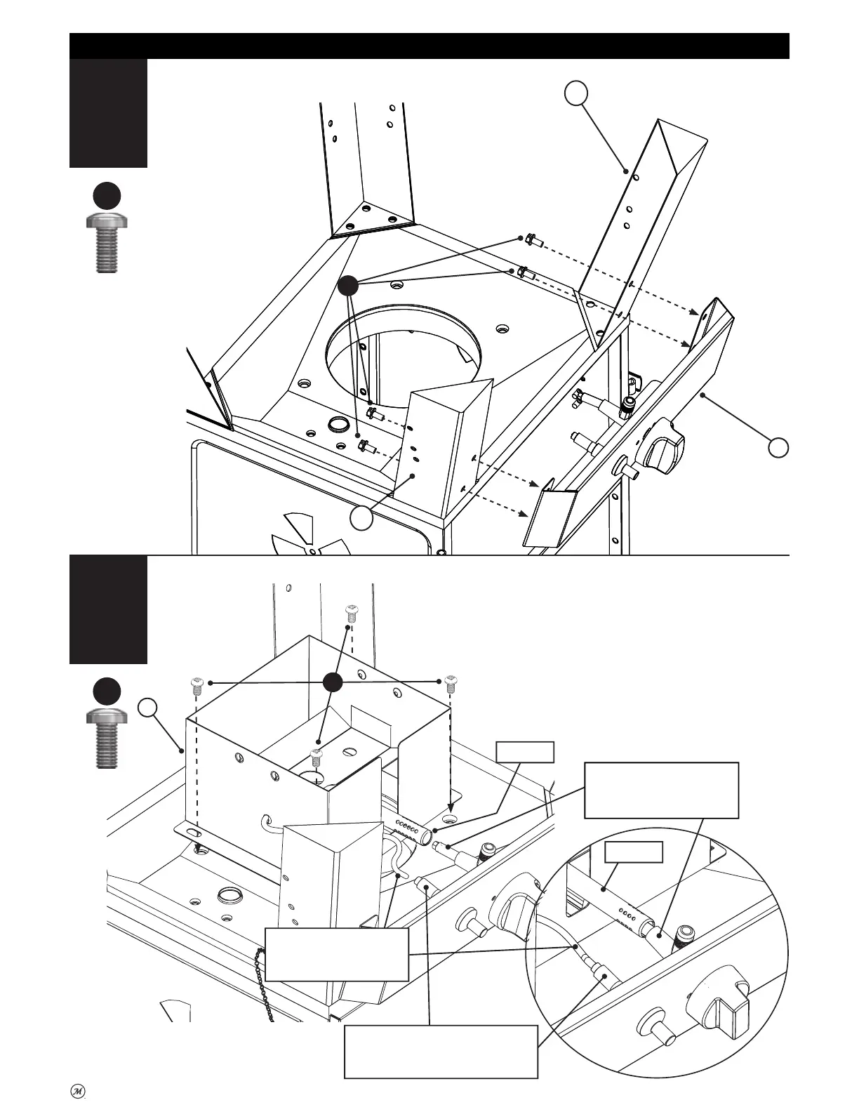
Piezo Ignitor
Ignition Wire
Valve Ori ce
Venturi
4
X4
A
Venturi

Related product manuals