EasyManua.ls Logo

Masterbuilt MB20051620 - Page 18

Masterbuilt MB20051620
28 pages
Print Icon
To Next Page IconTo Next Page
To Next Page IconTo Next Page
To Previous Page IconTo Previous Page
To Previous Page IconTo Previous Page
Loading...
46
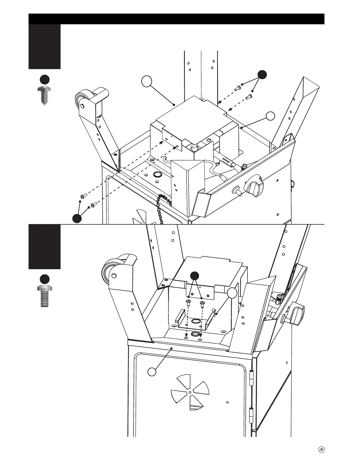
ASSEMBLY
1
29
G
6
X2
G
20
6
B
B
5
B
X4

Related product manuals