EasyManua.ls Logo

Mastervolt Whisper 8 - 2.5 Technical Information

Mastervolt Whisper 8
32 pages
To Next Page IconTo Next Page
To Next Page IconTo Next Page
To Previous Page IconTo Previous Page
To Previous Page IconTo Previous Page
Loading...
INSTALLATION
EN / WHISPER 6/8/12 - 3000RPM / February 2007 11
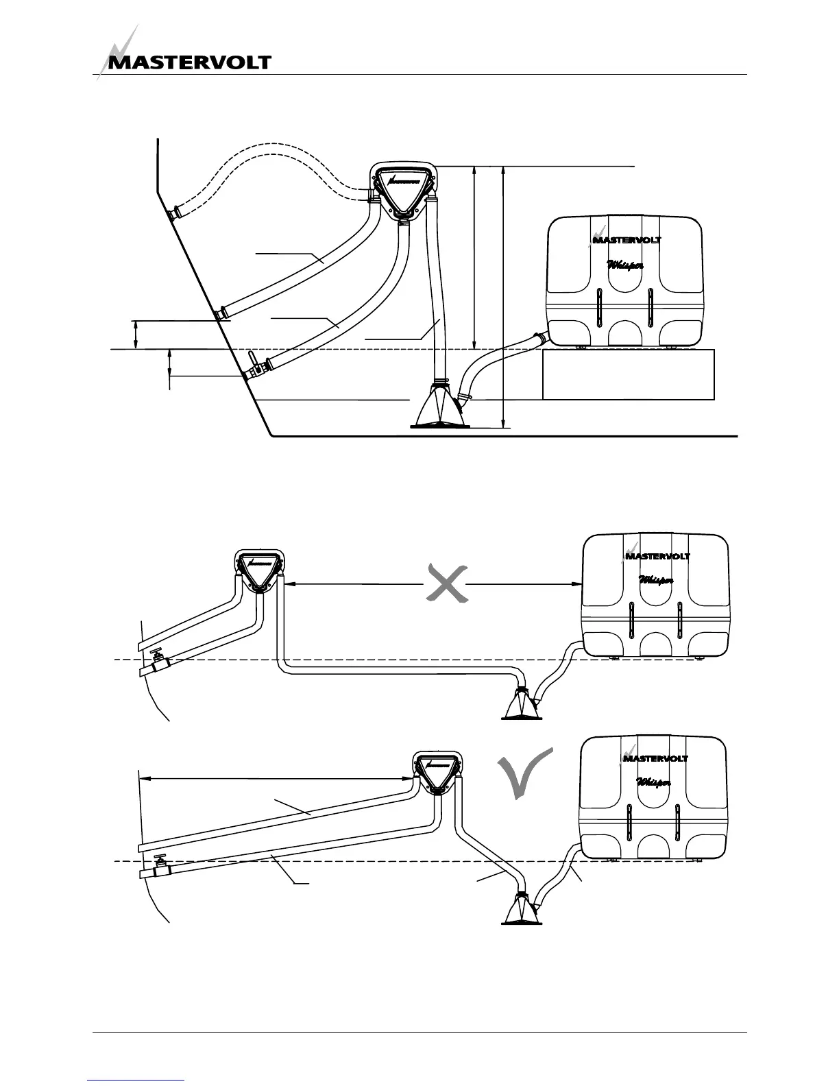
MAX. 10CM (4")
MIN. 60CM (24")
MAX. 150CM (60")
MIN. 3CM (1,2")
1
2
3
4
Ø 40 mm
Ø 40 mm
Ø 40 mm
1 Water level 3 Seacock
Figure 11 2 Water/exhaust separator 4 Waterlock
Figure 12: Only after the exhaust / water separator the exhaust hose may have a length of over 7.5 meter
OK!
WRONG!
A
B
Up to 3 m: Ø 40 mm
3-10 m: Ø 51 mm
Ø 40 mm
Ø 40 mm Ø 40 mm
Max. length A - B = 10 ft. (3 m)

Other manuals for Mastervolt Whisper 8

Related product manuals