EasyManua.ls Logo

MAXA MI26A1 - Page 31

MAXA MI26A1
33 pages
Print Icon
To Next Page IconTo Next Page
To Next Page IconTo Next Page
To Previous Page IconTo Previous Page
To Previous Page IconTo Previous Page
Loading...
49
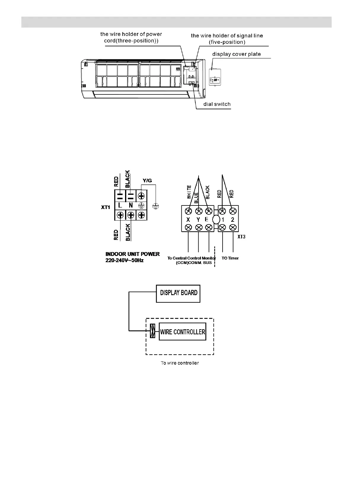
12.5.1 Terminal Board Diagram
Please refer to the indoor unit wiring diagram for the wiring.
Note:
The air-conditioners can connect with Central Control Monitor (CCM). Before operation, please wiring
correctly and set system address and network address of indoor units.
Single phase indoor unit:
Please adopt the shielded twisted-pair wire, and connect the shielded layer to E.
MAXA DC Fan Coil Unit

Related product manuals