EasyManua.ls Logo

Maxon BMR-35 - Page 18

Maxon BMR-35
34 pages
Print Icon
To Next Page IconTo Next Page
To Next Page IconTo Next Page
To Previous Page IconTo Previous Page
To Previous Page IconTo Previous Page
Loading...
18
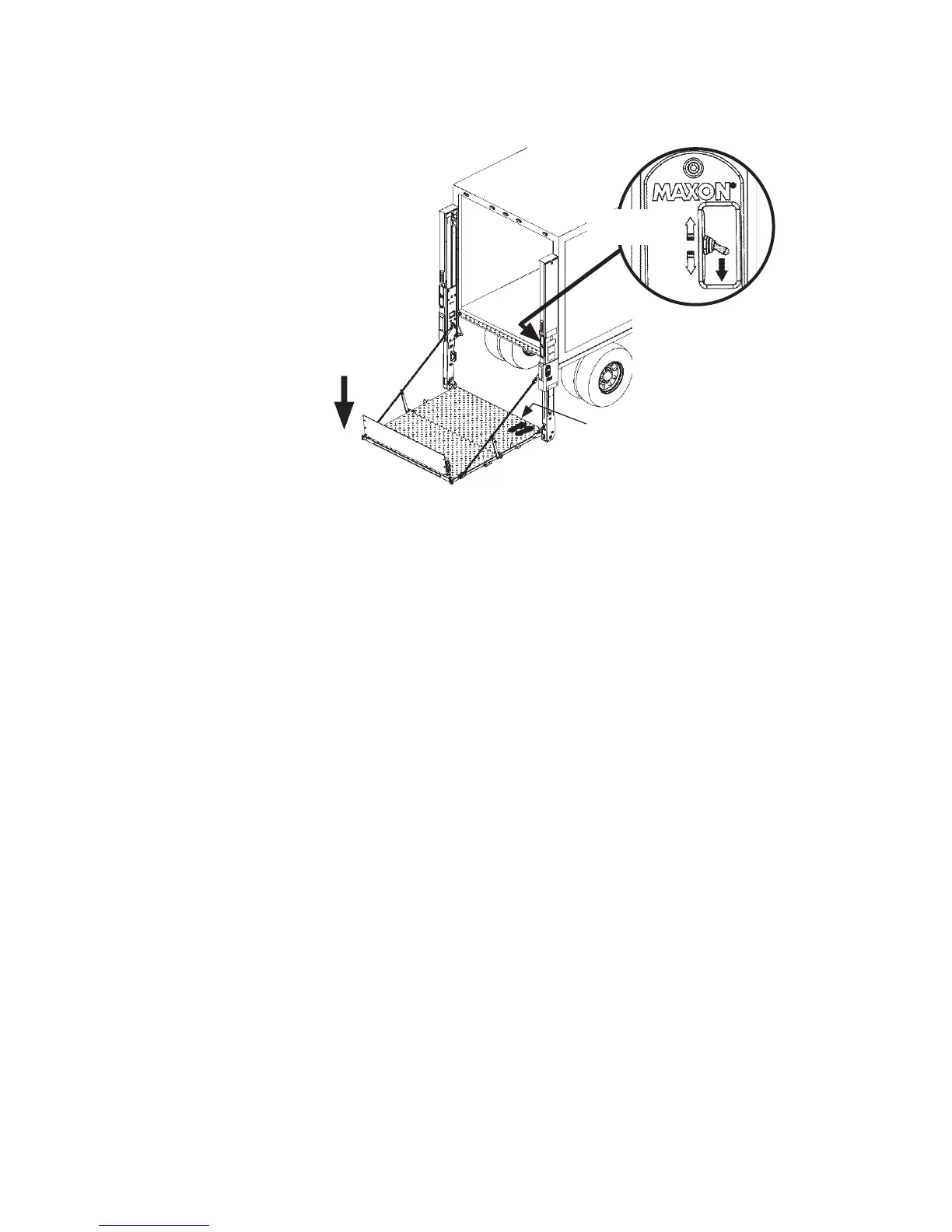
FIG. 18-1
LOADING VEHICLE - Continued
RAISING & UNLOADING PLATFORM - Continued
4. Use runner switch to lower
the platform to ground level
(FIG. 18-1).
5. If there are more loads to put
in vehicle, repeat the previous
LOADING VEHICLE steps
for each load. When loading
is nished, use STOWING
PLATFORM procedure in this
manual.
INBOARD
EDGE
RUNNER
SWITCH
DOWN

Other manuals for Maxon BMR-35

Related product manuals