EasyManua.ls Logo

Maxx SP5 B - Setting Individual Sample Volume; Plastic Dosing Vessel Setup

Maxx SP5 B
60 pages
Print Icon
To Next Page IconTo Next Page
To Next Page IconTo Next Page
To Previous Page IconTo Previous Page
To Previous Page IconTo Previous Page
Loading...
Installation
- 24 -
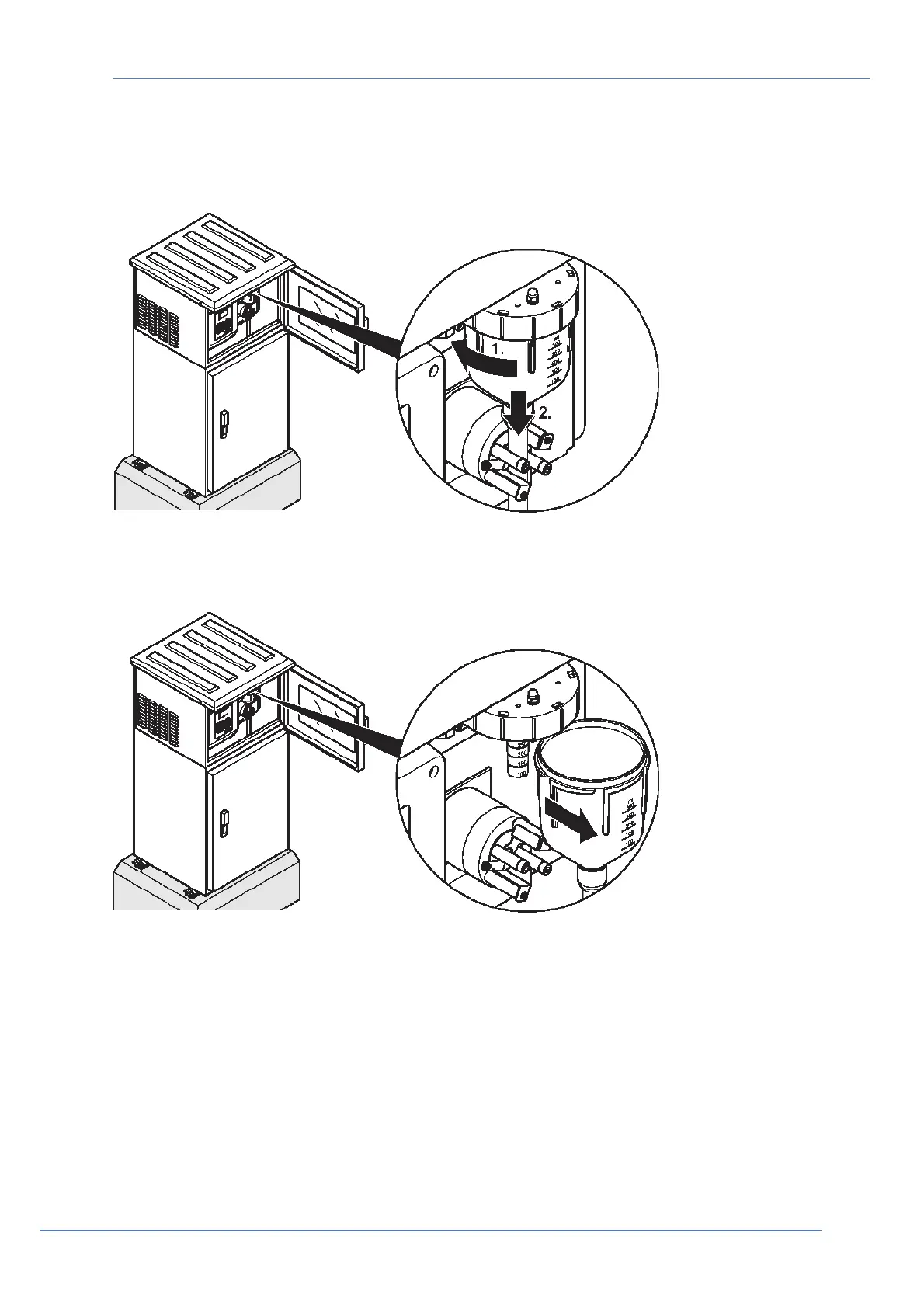
3.3.2 Set the individual sample volume
3.3.2.1 Plastic dosing vessel
Figure 27 Release the plastic dosing vessel
Figure 28 Remove the plastic dosing vessel

Table of Contents

Other manuals for Maxx SP5 B

Related product manuals