EasyManua.ls Logo

Maxxhaul 80439 - Maintaining the Aluminum Ramp Kit; Product Specifications and Parts; Specifications; Parts List

Maxxhaul 80439
6 pages
Print Icon
To Previous Page IconTo Previous Page
To Previous Page IconTo Previous Page
Loading...
Model 80439 Page 6
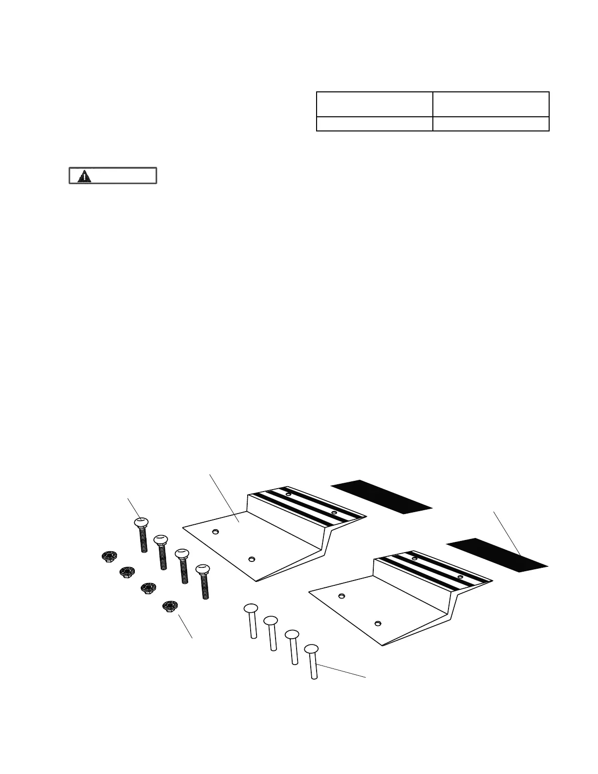
Part # Description Qty.
1 Ramp Top Plate 2
2 Protective Pad 2
3 Bolt 4
4 Nut 4
5 Pin 4
1
3
4
5
2
Maximum Capacity 700 Lbs. per Ramp; 1400
Lbs. total
Composition Aluminum
SPECIFICATIONS
Manufactured for and distributed by:
Maxx Group, LLC, Oxnard, CA 93030 USA
www.maxxhaul.com
Assembly Drawing
Parts List
not included) before each use. Make sure
that the Ramps are solidly in place and will
not move, or slide while loading/unloading.
C. Before each use, re-read and adhere to
all warnings and instructions in the Personal
and Work Area Safety section on pages 2, 3,
and 4 of this manual.
D. Never ride on or
drive a powered vehicle up or down the
Ramps. Equipment should be rolled
up or down the Ramps, or pulled with a
winch.
Maintaining the Aluminum
Ramp Kit
A. The general condition of this product
should be checked before each use. Make
sure that all hardware is tightened. Make
sure that the Ramps do not have any struc-
tural damage. Make sure the planks are in
good condition.
B. Do not use the Aluminum Ramps if any
damage is noted. If damaged, the product
should not be repaired, but should be re-
placed.
WARNING

Related product manuals