EasyManua.ls Logo

Mazda 6 2017 - Supplemental Restraint System Components

Mazda 6 2017
578 pages
Print Icon
To Next Page IconTo Next Page
To Next Page IconTo Next Page
To Previous Page IconTo Previous Page
To Previous Page IconTo Previous Page
Loading...
2
47
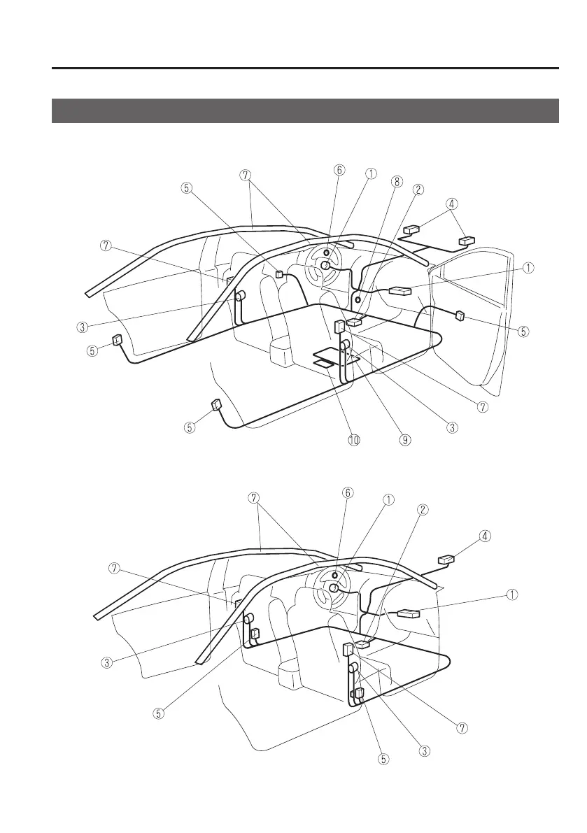
Essential Safety Equipment
SRS Air Bags
Supplemental Restraint System Components
(With Front Passenger Occupant Classication System)
(Without Front Passenger Occupant Classication System)
Mazda6_8FH2-EA-16F_Edition1.indb 47 2016/05/10 19:22:41

Table of Contents

Related product manuals