EasyManua.ls Logo

Mazda CX-30 - Page 184

Mazda CX-30
592 pages
Print Icon
To Next Page IconTo Next Page
To Next Page IconTo Next Page
To Previous Page IconTo Previous Page
To Previous Page IconTo Previous Page
Loading...
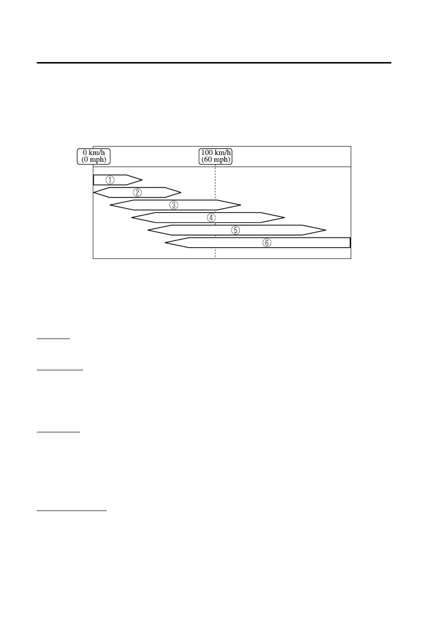
Shift Gear (Shifting) Speed Limit
For each gear position while in the manual mode, the speed limit is set as follows:
When the selector lever is operated within the range of the speed limit, the gear is
shifted.
1. 1st
2. 2nd
3. 3rd
4. 4th
5. 5th
6. 6th
Shift up
The gear does not shift up while the vehicle speed is lower than the speed limit.
Shift down
The gear does not shift down while the vehicle speed exceeds the speed limit.
If the vehicle speed exceeds the speed limit and the gear does not shift down, the
gear position indication flashes 2 times to notify the driver that the gear cannot be
shifted.
Kickdown
When the accelerator pedal is depressed fully while driving, the gear shifts down.
However, the transmission does not kickdown while the TCS is turned o or the
O-Road Traction Assist
*
is operating.
NOTE
The gear also shifts down using kickdown while in the second gear
fixed
mode.
Auto-shift down
The gear shifts down automatically depending on the vehicle speed during
deceleration.
When Driving
Automatic Transmission
4-40
*Some models.
CX30_8JP5-EA20K_Edition1_new 2020-7-22 15:50:09

Table of Contents

Other manuals for Mazda CX-30

Related product manuals