EasyManua.ls Logo

MC Crypt ProSub 15A - Anschluss der Signaleingänge

MC Crypt ProSub 15A
Print Icon
To Next Page IconTo Next Page
To Next Page IconTo Next Page
To Previous Page IconTo Previous Page
To Previous Page IconTo Previous Page
Loading...
10
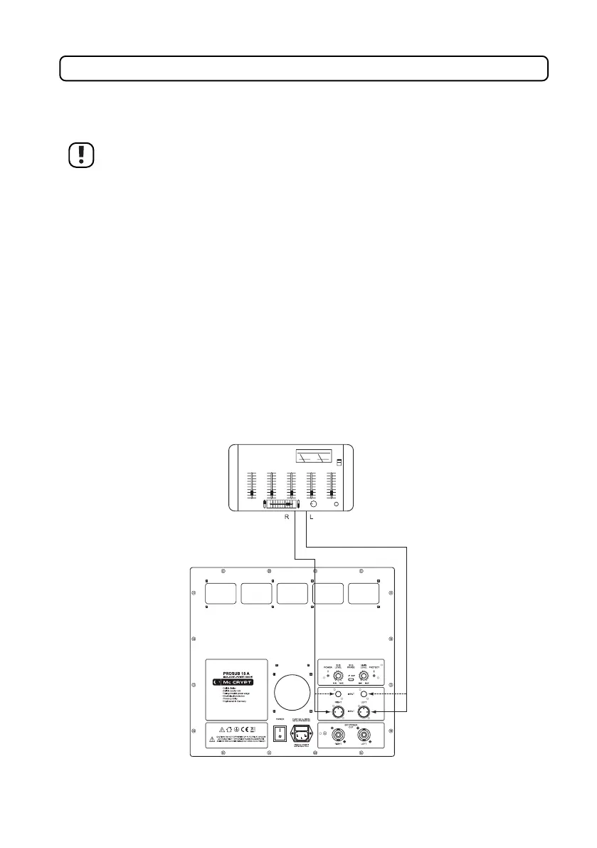
Anschluss der Signaleingänge
Der Subwoofer ist mit XLR-Eingängen und Klinkenanschlüssen ausgestattet. Es ist für die Funktion unerheblich,
welche Anschlüsse gewählt werden. Verwenden Sie jedoch immer nur eine Anschlussart.
Beachten Sie beim Anschluss der Signaleingänge, dass die Anschlusskabel nicht gequetscht
oder durch scharfe Kanten beschädigt werden.
Der Anschluss der Eingänge darf nur an niederpegelige Audioausgänge von Audiogeräten
erfolgen.
Der Subwoofer und das Gerät, an das das er angeschlossen wird, muss während der
Anschlussarbeiten ausgeschaltet sein.
Benutzen Sie zum Anschluss der Eingänge nur hierfür geeignete abgeschirmte Audioleitungen.
Bei Verwendung falscher Kabel können Störungen auftreten.
Um Verzerrungen oder Fehlanpassungen zu vermeiden, die zur Beschädigung des Subwoofers
führen können, dürfen an die Klinkeneingänge nur Audiogeräte mit einem Klinkenausgang
angeschlossen werden. An die XLR-Eingänge dürfen nur Geräte mit XLR-Ausgängen ange-
schlossen werden.
Beachten Sie hierzu auch die Anschlusswerte im Kapitel „Technischen Daten“.
Verbinden Sie die Klinkenanschlüsse INPUT (8) bzw. die XLR-Anschlüsse INPUT (9) mit den Vorverstärkeraus-
gängen des vorgeschalteten Audiogerätes (z.B. Mischpult).
Verbinden Sie hierbei den Anschluss INPUT RIGHT mit dem rechten Vorverstärkerausgang und den Anschluss
INPUT LEFT mit dem linken Vorverstärkerausgang.

Table of Contents