EasyManua.ls Logo

MC Crypt ProSub 15A - Raccordement des Entrées des Signaux

MC Crypt ProSub 15A
Print Icon
To Next Page IconTo Next Page
To Next Page IconTo Next Page
To Previous Page IconTo Previous Page
To Previous Page IconTo Previous Page
Loading...
42
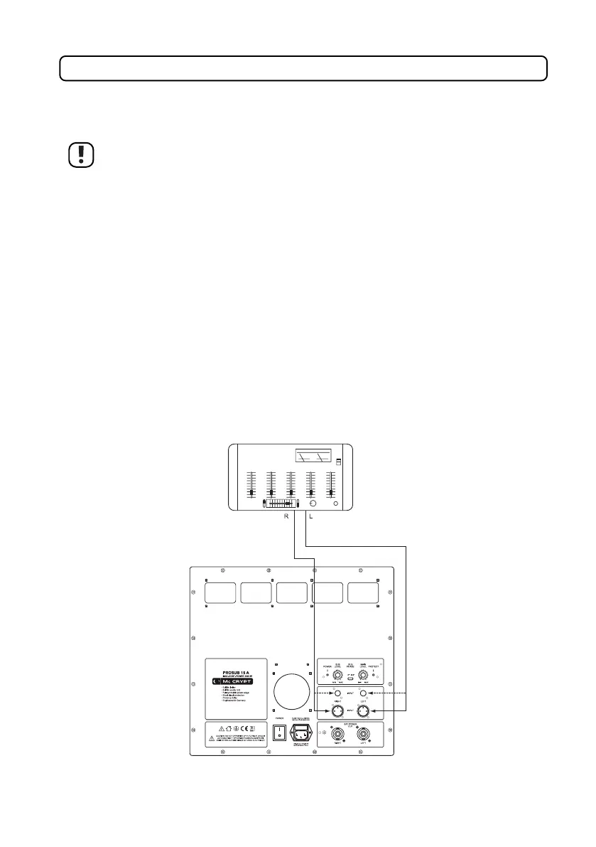
Raccordement des entrées des signaux
Le subwoofer est équipé d’entrées XLR et de prises jack. Les prises choisies n’ont aucune incidence sur le
fonctionnement. N’utilisez toutefois qu’un seul type de prises.
Lors du raccordement des entrées des signaux, veillez à ce que les câbles ne soient pas
écrasés ou endommagés par des arêtes vives.
Les entrées doivent uniquement être raccordées aux sorties de bas niveau des appareils audio.
Le subwoofer et l’appareil auquel il est raccordé doivent être éteints durant les travaux de
raccordement.
Pour le raccordement des entrées, employez exclusivement des câbles audio blindés appropriés.
Des dysfonctionnements peuvent survenir en cas d’utilisation de câbles inappropriés.
Pour éviter toute distorsion ou désadaptation susceptibles d’endommager le subwoofer,
raccordez uniquement des appareils audio équipés d’une prise jack aux entrées jack. Seuls des
appareils équipés de sorties XLR peuvent être branchés sur les entrées XLR.
À ce propos, observez également les puissances connectées indiquées dans le chapitre
« Caractéristiques techniques ».
Raccordez les prises jack INPUT (8) ou les prises XLR INPUT (9) aux sorties du préamplificateur de l’appareil
audio installé en amont (par ex. table de mixage).
Raccordez alors la prise INPUT RIGHT à la sortie droite du préamplificateur et la prise INPUT LEFT à la sortie
gauche du préamplificateur.

Table of Contents