EasyManua.ls Logo

MC Crypt ProSub 15A - Aansluiting Van de Signaalingangen

MC Crypt ProSub 15A
Print Icon
To Next Page IconTo Next Page
To Next Page IconTo Next Page
To Previous Page IconTo Previous Page
To Previous Page IconTo Previous Page
Loading...
58
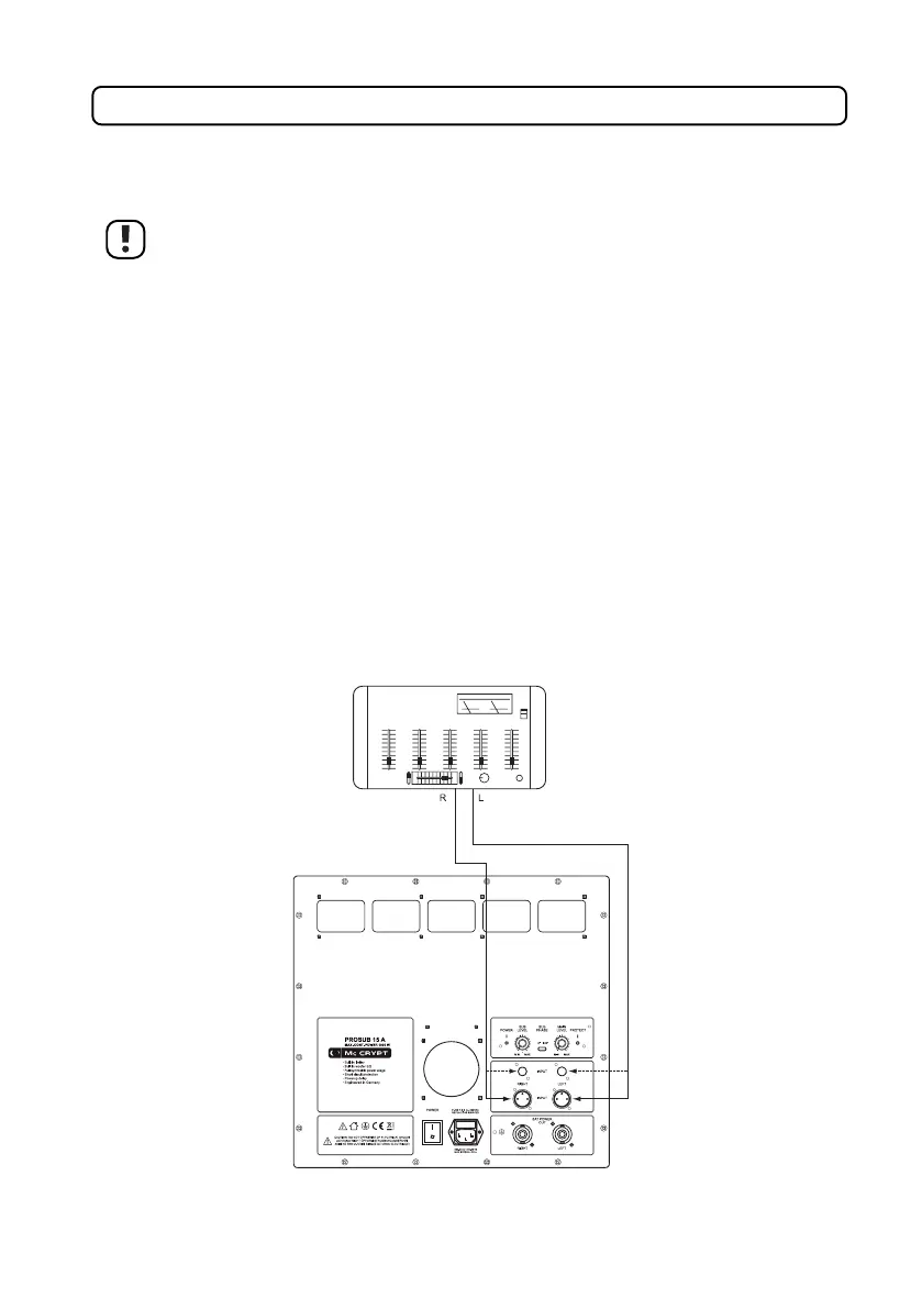
Aansluiting van de signaalingangen
De subwoofer is met XLR-ingangen en cinchaansluitingen uitgerust. Het is voor de werking onbelangrijk, welke
aansluitingen worden gekozen. Maak echter steeds gebruik van slechts één soort aansluiting.
Let bij de aansluiting van de signaalingangen erop, dat de aansluitsnoeren niet platgedrukt of
door scherpe hoeken beschadigd worden.
De ingangen mogen uitsluitend op audio-uitgangen van audioapparatuur met een laag niveau
worden aangesloten.
De subwoofer en het apparaat waarop de set wordt aangesloten, moeten tijdens de aansluiting
uitgeschakeld zijn.
Gebruik voor de aansluiting van de ingangen alleen hiervoor geschikte, afgeschermde
aansluitkabels. Bij gebruik van de verkeerde kabels kunnen storingen optreden.
Om vervormingen of onjuiste aanpassingen te voorkomen die tot beschadiging van de
subwoofer kunnen leiden, mogen op de cinchingangen uitsluitend audio-apparaten met een
cinchuitgang worden aangesloten. Op de XLR-ingangen mogen uitsluitend apparaten met
XLR-uitgangen worden aangesloten.
Let hierbij ook op de aansluitwaarden in het hoofdstuk “Technische gegevens”.
Verbind de cinchaansluitingen INPUT (8) resp. de XLR-aansluitingen INPUT (9) met de voorversterkeruitgangen
van het voorgeschakelde audioapparaat (bijv. mengpaneel).
Verbind hierbij de aansluiting INPUT RIGHT met de rechter voorversterkeruitgang en de aansluiting INPUT
LEFT met de linker voorversterkeruitgang.

Table of Contents