EasyManua.ls Logo

MC Crypt ProSub 15A - Signal Input Connection

MC Crypt ProSub 15A
Print Icon
To Next Page IconTo Next Page
To Next Page IconTo Next Page
To Previous Page IconTo Previous Page
To Previous Page IconTo Previous Page
Loading...
26
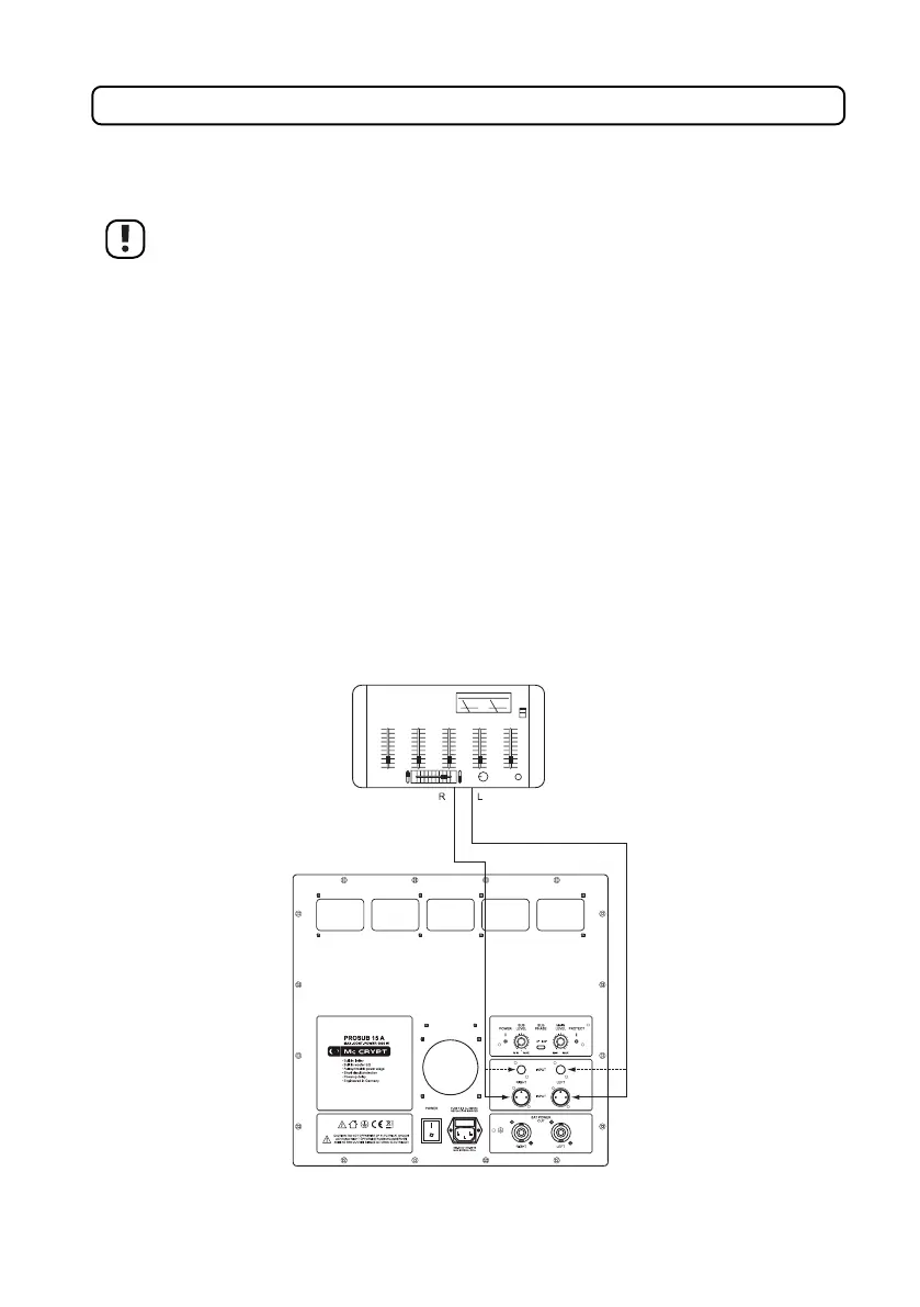
Signal Input Connection
The subwoofer is equipped with XLR inputs and jack plug connections. The connections selected do not affect
function. Only use one connection type at a time, though.
When connecting the signal inputs, make sure that the connection cables are neither pinched
nor damaged by sharp edges.
The inputs must only be connected to low-level audio device outputs of audio devices.
The subwoofer and the device it is connected to must both be switched off during connection.
For the connection of the inputs only use the shielded audio lines. Use of any wrong cables may
cause interferences.
To avoid distortion or mismatching that may damage the subwoofer, only audio devices with
a jack plug output may be connected to the jack plug inputs of the device. Only devices with
XLR outputs must be connected to the XLR inputs.
Also observe the values stated in the “Technical Data”.
Connect the cinch connections INPUT (8) or the XLR connections INPUT (9) to the pre-amplifier outputs of the
upstream audio device (e.g. mixer).
Connect the INPUT RIGHT connection to the right pre-amplifier output and the INPUT LEFT connection to the
left pre-amplifier output.

Table of Contents