EasyManua.ls Logo

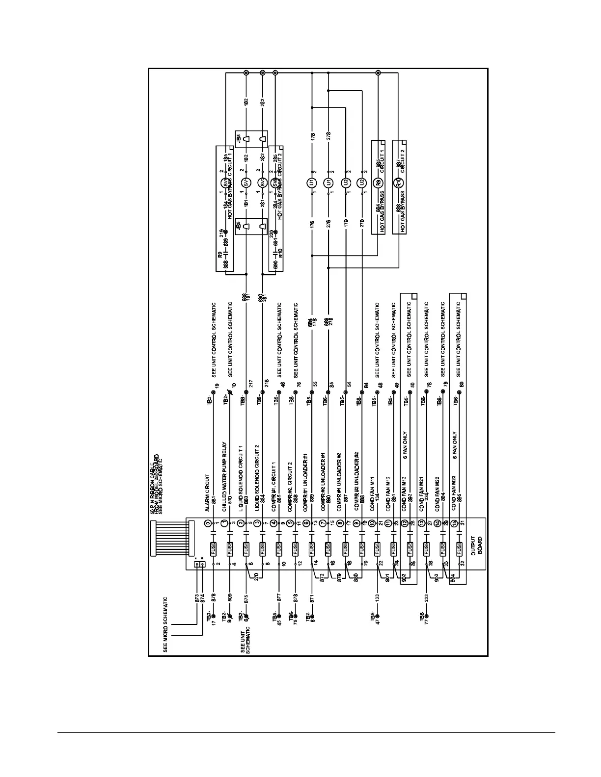
McQuay AGR 100AS - Figure 19, Staging Schematic (6-stage MicroTech)

McQuay AGR 100AS
106 pages
Print Icon
To Next Page IconTo Next Page
To Next Page IconTo Next Page
To Previous Page IconTo Previous Page
To Previous Page IconTo Previous Page
Loading...
IOMM AGR AGR 055A through 100A 31
Figure 19, Staging Schematic (6-stage MicroTech)

Other manuals for McQuay AGR 100AS

Related product manuals