EasyManua.ls Logo

Merrychef HD - Hot Air Motor Assembly

Merrychef HD
43 pages
Print Icon
To Next Page IconTo Next Page
To Next Page IconTo Next Page
To Previous Page IconTo Previous Page
To Previous Page IconTo Previous Page
Loading...
Page 25 Microcook HD Ovens 32Z3385 Issue 5
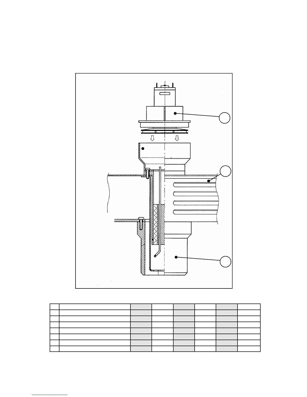
TA 1725 and TA 1925: Turboaire hot air motor assembly
79
No Description HD1025 HD1425 HD1725 HD1925 HD2025 TA
77 Ceramic Base 20Z1355 20Z1355 20Z1355 20Z1355 40M0853 20Z1355
78 White Silastic 31Z0098 31Z0098 31Z0098 31Z0098 31Z0098 31Z0098
79 Roof 40M0563 40M0563 40M0563 40M0563 40M0563 40M0877
80 Stirrer Blade Assembly 11M0140 11M0140 11M0140 11M0140 11M0140 11M0140
82 Tuning Stub 40M0508 40M0508 40M0508 40M0508 40M0539 40M0508
83 Hot Air Motor Assembly —– —– —– —– —– 11M0344
84 Cooling Sleeve —– —– —– —– —– 40M0878
84
83

Related product manuals