EasyManua.ls Logo

Meyer's 435 Tandem - End Gate Hydraulics

Meyer's 435 Tandem
52 pages
Print Icon
To Next Page IconTo Next Page
To Next Page IconTo Next Page
To Previous Page IconTo Previous Page
To Previous Page IconTo Previous Page
Loading...
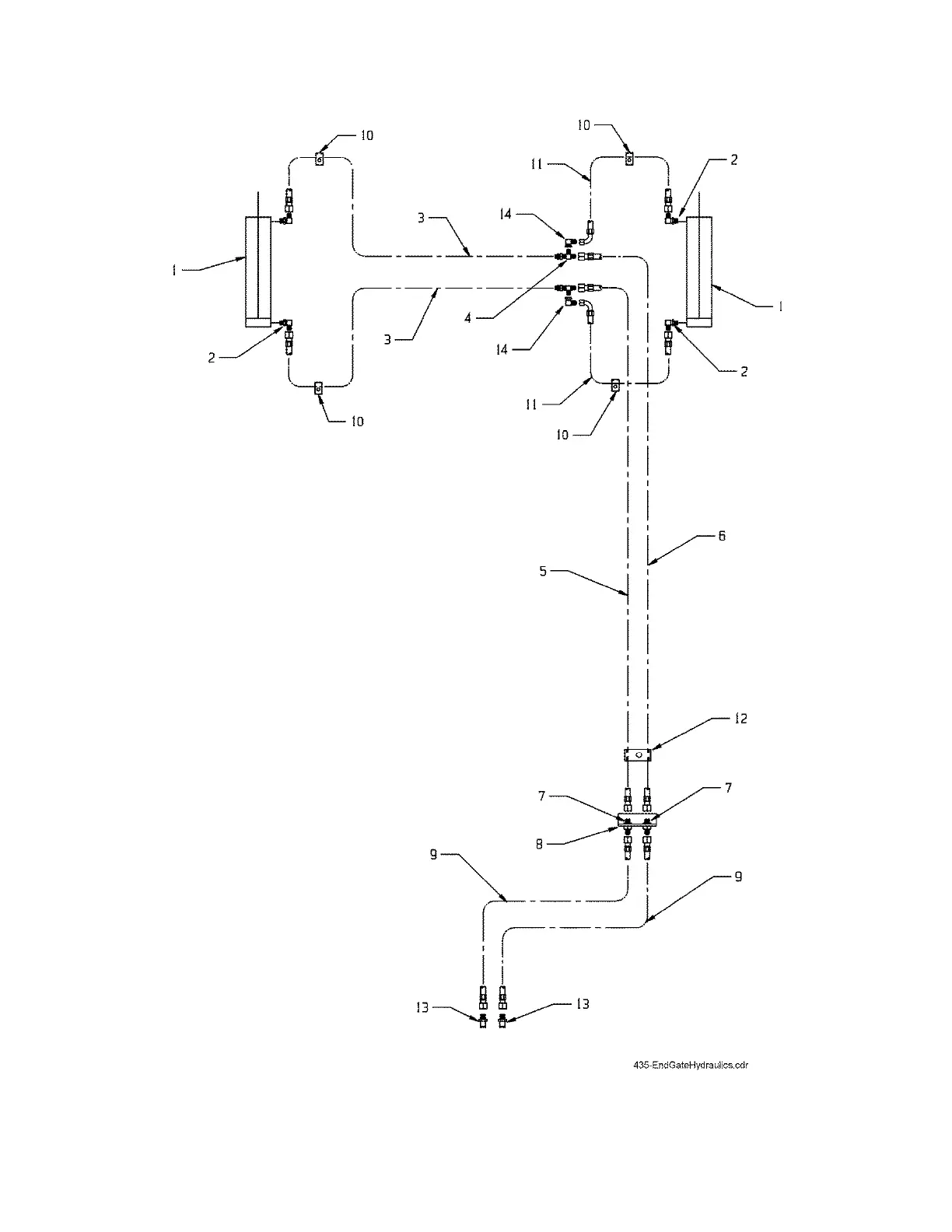
Page 28 Model 435
END GATE HYDRAULICS

Related product manuals