EasyManua.ls Logo

Midea MC-6F74A0H556 - Mains Power Connection

Midea MC-6F74A0H556
32 pages
Print Icon
To Next Page IconTo Next Page
To Next Page IconTo Next Page
To Previous Page IconTo Previous Page
To Previous Page IconTo Previous Page
Loading...
15
• If the cable is damaged or to be replaced, the operation must be carried out the by after-sale agent
with dedicated tools to avoid any accidents.
• If the appliance is being connected directly to the mains an omnipolar circuit-breaker must be
installed with a minimum opening of 3mm between contacts.
• The installer must ensure that the correct electrical connection has been made and that it is compliant
with safety regulations.
• The cable must not be bent or compressed.
• The cable must be checked regularly and replaced by authorised technicians.
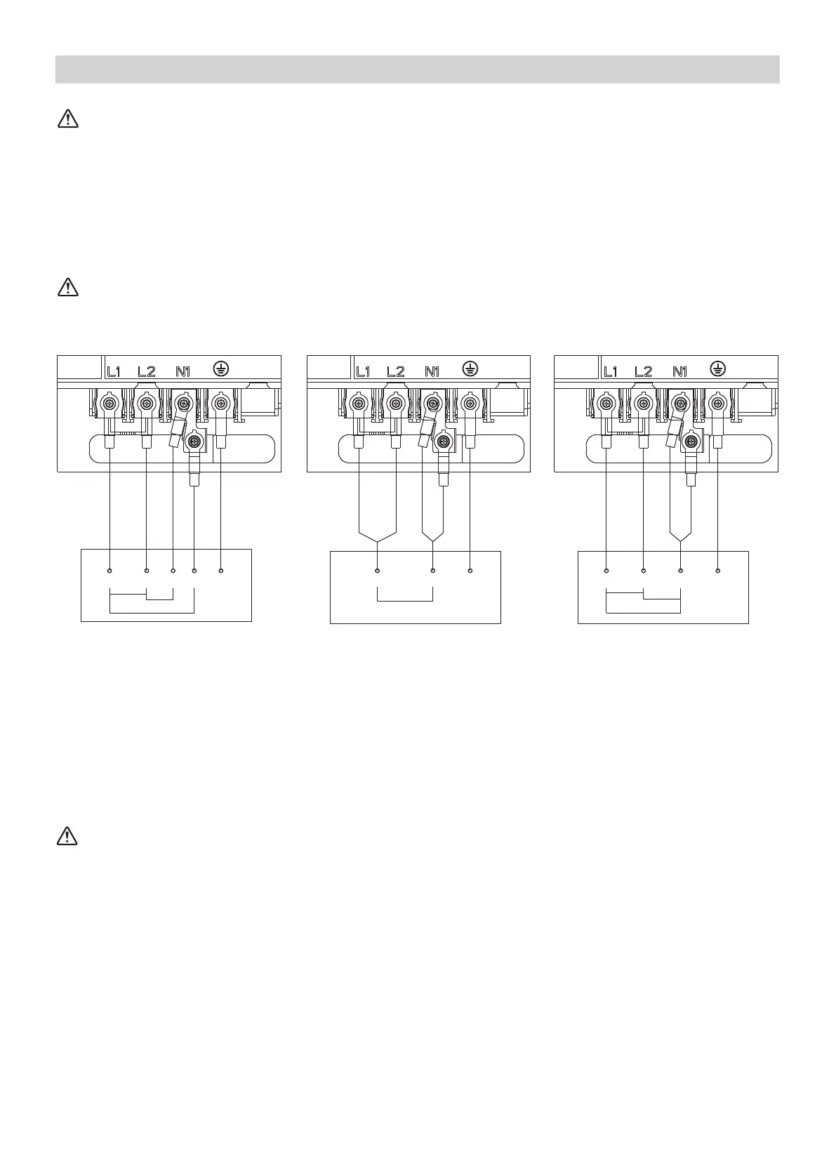
Connecting the Hob to the Mains Power Supply
This hob must be connected to the mains power supply only by a suitably qualified person.
Before connecting the hob to the mains power supply, check that:
1. The domestic wiring system is suitable for the power drawn by the hob.
2. The voltage corresponds to the value given in the rating plate.
3. The power supply cable sections can withstand the load specified on the rating plate.
To connect the hob to the mains power supply, do not use adapters, reducers, or branching
devices, as they can cause overheating and fire.
The power supply cable must not touch any hot parts and must be positioned so that its
temperature will not exceed 75˚C at any point.
Check with an electrician whether the domestic wiring system is suitable without alterations.
Any alterations must only be made by a qualified electrician.
The bottom surface and the power cord of the hob are not accessible after installation.
Yellow/Green
L1 GNDN1N2L2
Grey
Blue
Black
Brown
220-240V~
220-240V~
Yellow/Green
GND
Grey
Blue
Black
Brown
L
N
220-240V~
Yellow/Green
GND
Grey
Blue
Black
Brown
N
220-240V~
L1 L2
220-240V~
380-415V~
380-415V~

Related product manuals