EasyManua.ls Logo

Midea MSCI-09HRN1 - Page 24

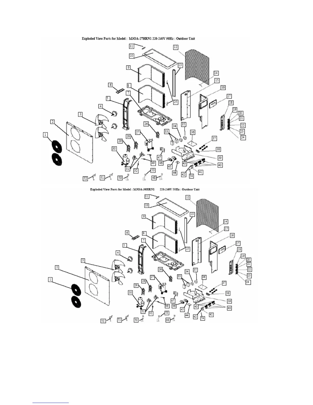
Midea MSCI-09HRN1
25 pages
Print Icon
To Next Page IconTo Next Page
To Next Page IconTo Next Page
To Previous Page IconTo Previous Page
To Previous Page IconTo Previous Page
Loading...
230

Related product manuals