EasyManua.ls Logo

Miele CS 1013-1 - Building-In Dimensions

Miele CS 1013-1
56 pages
Print Icon
To Next Page IconTo Next Page
To Next Page IconTo Next Page
To Previous Page IconTo Previous Page
To Previous Page IconTo Previous Page
Loading...
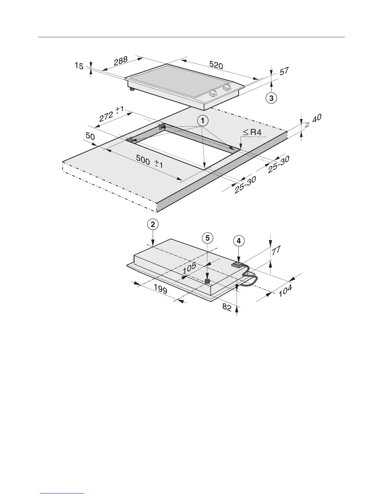
Building-in dimensions
36
a
Spring clamps
b
Front
c
Building-in depth
d
Mains connection box with mains connection cable, L = 1440 mm
e
Gas connection R 1/2

Related product manuals