EasyManua.ls Logo

Miele KM 441 - Worktop Cut-Out Dimensions

Miele KM 441
28 pages
Print Icon
To Next Page IconTo Next Page
To Next Page IconTo Next Page
To Previous Page IconTo Previous Page
To Previous Page IconTo Previous Page
Loading...
Installation instructions
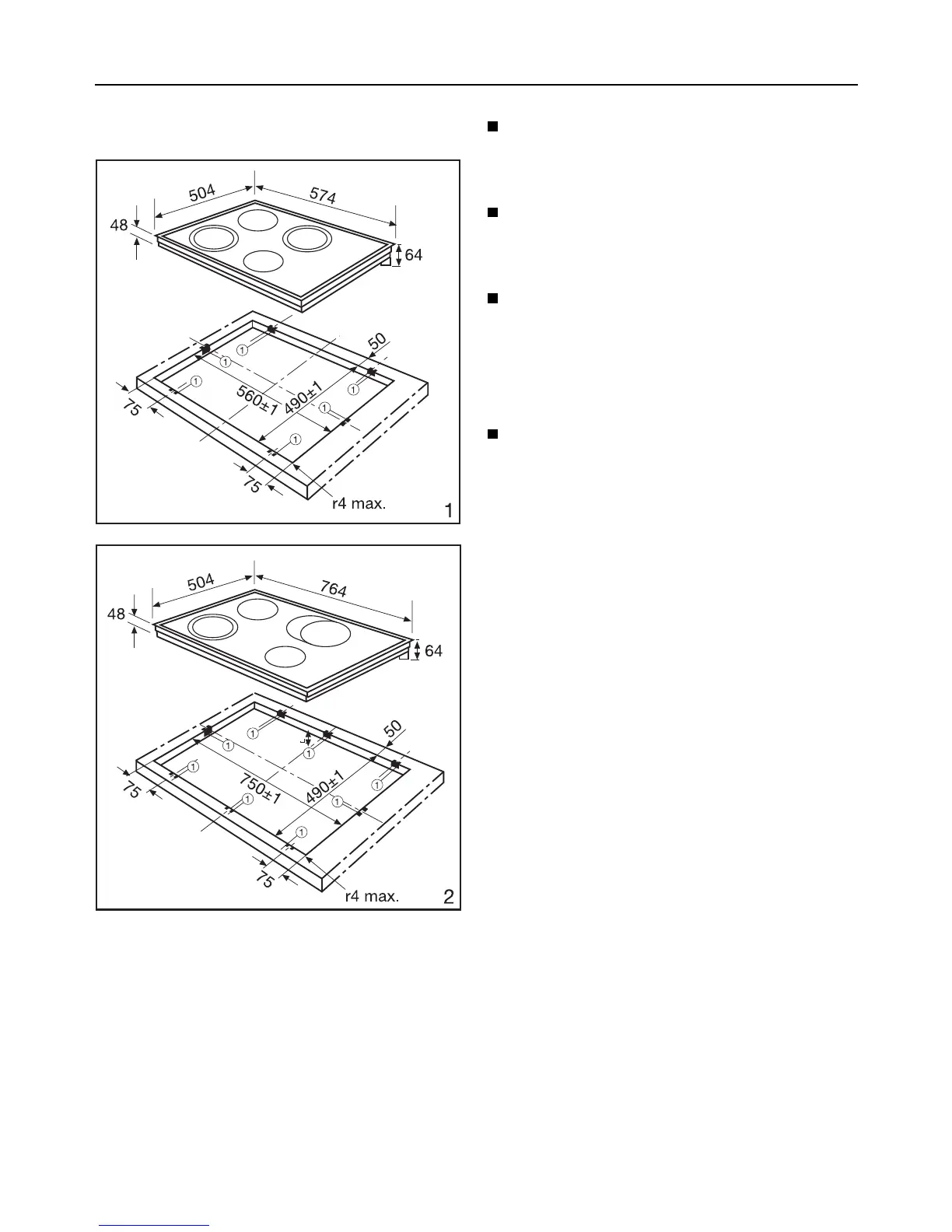
Worktop cut-out
Cut the worktop according to the
dimensions in the relevant diagram,
keeping within the tolerances given.
Ensure that there is a depth of at
least 64 mm at the rear right for the
connecting cable.
Ensure that there are minumum dis-
tances of 50 mm between the rear
wall and the hob and 40 mm be-
tween a right or left side wall and the
hob.
Seal the cut surfaces with a suitable
sealant to avoid swelling caused by
moisture. The materials used must
be heat-resistant.
Installation instructions
22

Related product manuals