EasyManua.ls Logo

Miele Ventilation Hood - Appliance Dimensions

Miele Ventilation Hood
56 pages
Print Icon
To Next Page IconTo Next Page
To Next Page IconTo Next Page
To Previous Page IconTo Previous Page
To Previous Page IconTo Previous Page
Loading...
Installation
32
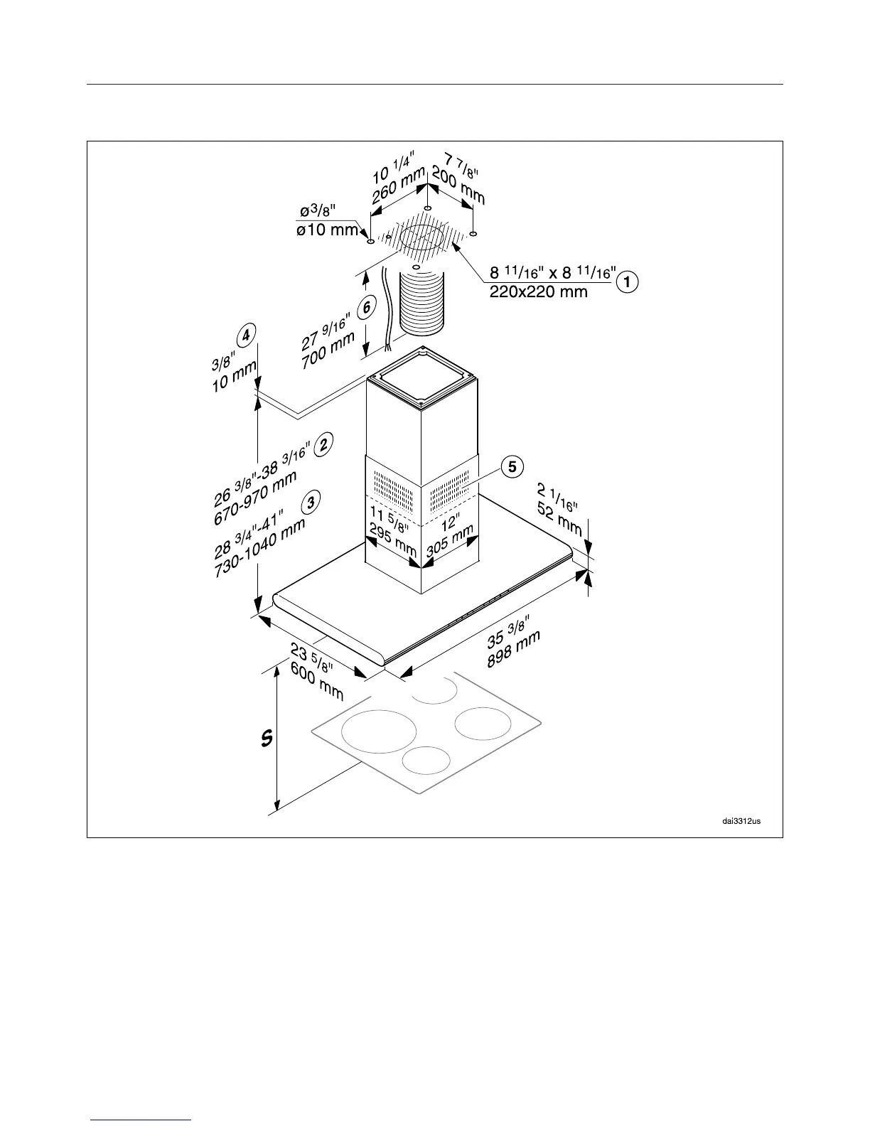
Appliance dimensions
a
Mounting area for the exhaust ducting and power cable. In recirculation mode,
onl
y the power cord is required.
b
Possible height range for appliance in vented mode
c
Possible height range for appliance in recirculation mode
d
Alternative installation with spacer frame
e
Air vent positioned at the top for recirculation

Table of Contents

Related product manuals