EasyManua.ls Logo

Minebea CSD-903-EX - Page 47

Minebea CSD-903-EX
226 pages
Print Icon
To Next Page IconTo Next Page
To Next Page IconTo Next Page
To Previous Page IconTo Previous Page
To Previous Page IconTo Previous Page
Loading...
31
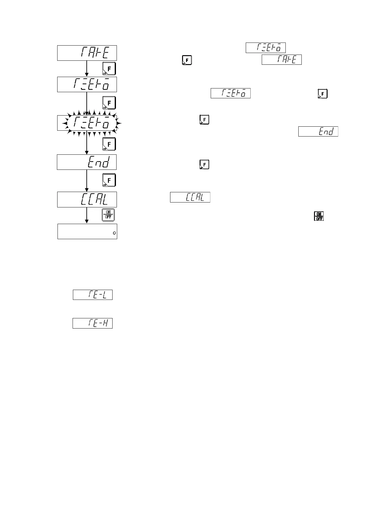
Calibration mode only of zero point
Please make the display to by pressing
the key from the display of .
Please make to the status where nothing is put on the measuring
section here excluding the tare outside weighing capacity.
The display of blinks by pressing the key,
and start the calibration at zero.
Press the key after the stability mark lighting on.
The calibration of zero point is completed, and is
displayed.
Press the key to finish the calibration mode only of zero
point.
is displayed, and the setting data is memorized in
the internal memory.
Please set to the stand-by condition by pressing the key.
The calibration mode only of zero point is finished.
Error display in the calibration of zero point
: The display blinks for about 2 seconds when the load cell output is less than
-2.5 mV/V.
(Please refer to the paragraph 19. Error display.)
: The display blinks for about 2 seconds when the load cell output is over 2.5 mV/V.
(Please refer to the paragraph 19. Error display.)

Related product manuals