EasyManua.ls Logo

Mitsubishi Electric 9800A - Page 32

Mitsubishi Electric 9800A
72 pages
Print Icon
To Next Page IconTo Next Page
To Next Page IconTo Next Page
To Previous Page IconTo Previous Page
To Previous Page IconTo Previous Page
Loading...
MITSUBISHI ELECTRIC 9800A SERIES UPS
MITSUBISHI
ELECTRIC
9800A SERIES UPS
OWNERS / TECHNICAL MANUAL
Page Number:
-
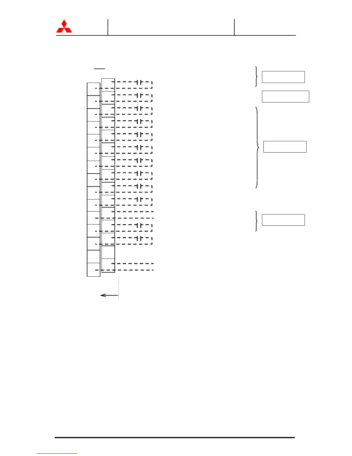
FIGURE 2.15-2 External Signal Terminal Block (NEC Class2)
TN2
IN3: BATTERY TEMP. HIGH
IN1:
REMOTE INVERTER START
IN2: REMOTE INVERTER STOP
REMOTE EPO
(User supplied dry
contact)
(User supplied sensor
and dry contact)
1
3
5
7
9
19
17
15
13
11
21
23
25
27
29
2
4
6
8
10
20
18
16
14
12
22
24
26
28
30
IN4: POWER DEMAND
(User supplied dry
contact)
IN5: SPARE
IN6: SPARE
IN7: SPARE
IN8: SPARE
IN9: SPARE
UPS
CB2 UVT
CB2 AX
52L AX
52C AX
(User supplied dry
contact)

Table of Contents

Related product manuals