EasyManua.ls Logo

Mitsubishi Electric F700

Mitsubishi Electric F700
303 pages
To Next Page IconTo Next Page
To Next Page IconTo Next Page
To Previous Page IconTo Previous Page
To Previous Page IconTo Previous Page
Loading...
231
Check and clear of the alarm history
4
PARAMETERS
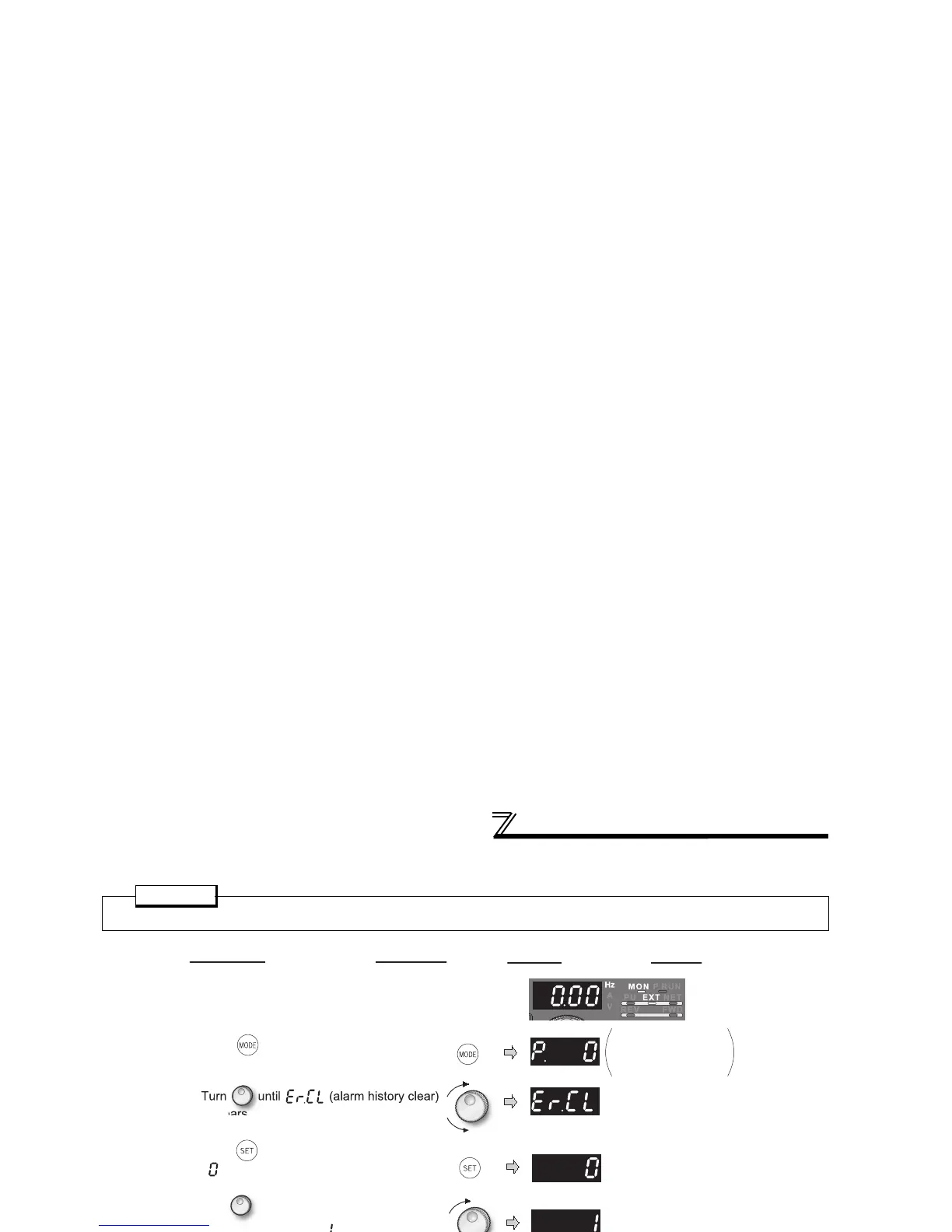
(2) Clearing procedure
POINT
· The alarm history can be cleared by setting "1" in Er.CL Alarm history clear.
1.Screen at powering on
The monitor display appears.
Display
Operation
2.Press to choose the parameter
setting mode.
3.
appears.
Flicker ··· Alarm history clear complete!!
6.Press to set.
4.Press to read the currently set value.
" "(initial value) appears.
· Press to show the setting again.
· Press twice to show the next parameter.
· Press to read another parameter.
5.Turn to change
it to the setting value " ".
The parameter
number previously
read appears.

Table of Contents

Related product manuals