EasyManua.ls Logo

Mitsubishi A1SD75M2 - Page 35

Mitsubishi A1SD75M2
746 pages
To Next Page IconTo Next Page
To Next Page IconTo Next Page
To Previous Page IconTo Previous Page
To Previous Page IconTo Previous Page
Loading...
1 - 13
MELSEC-A
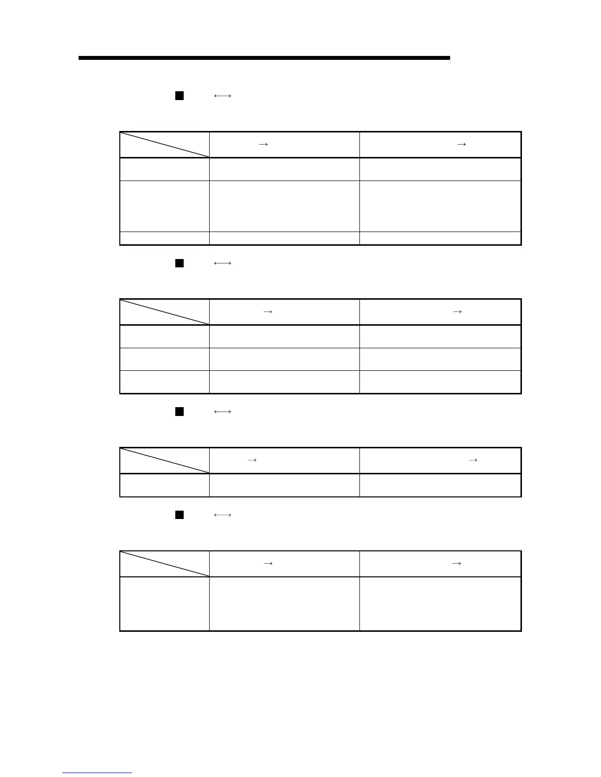
1 PRODUCT OUTLINE
AD75 Peripheral device
The AD75 and peripheral device communicate the following data via the peripheral
device connection connector.
Direction
Communication
AD75
Peripheral device Peripheral device AD75
Data (read/write)
Parameter, positioning data, positioning
start information
Parameter, positioning data, positioning
start information
Test operation
Zero point return control start command
Positioning control start command
JOG operation start command
Manual pulse generator operation
enable/disable command
Operation monitor Monitor data
AD75 Servo amplifier
The AD75 and servo amplifier communicate the following data via the SSCNET
connection connector.
Direction
Communication
AD75
Servo amplifier Servo amplifier AD75
Control signal
Signals related to commands such as
servo ON
Signals indicating the states of servo
ON/OFF, zero point pass, etc.
Position/speed
command
Commands that specify the position and
speed calculated in the AD75
Monitor data
Data indicating the deviation counter value,
servo amplifier state, etc.
AD75 Manual pulse generator
The AD75 and manual pulse generator communicate the following data via the
external device connection connector.
Direction
Communication
AD75
Manual pulse generator Manual pulse generator AD75
Pulse signal
Manual pulse generator A-phase, manual
pulse generator B-phase
AD75 External signal
The AD75 and external signal communicate the following data via the external
device connection connector.
Direction
Communication
AD75
External signal External signal AD75
Control signal
Signals from detector such as near-point
dog signal, upper/lower limit signal
Control signals from external device such
as stop signal, external start signal,
speed/position changeover signal

Related product manuals