EasyManua.ls Logo

Mitsubishi A1SD75M2

Mitsubishi A1SD75M2
746 pages
To Next Page IconTo Next Page
To Next Page IconTo Next Page
To Previous Page IconTo Previous Page
To Previous Page IconTo Previous Page
Loading...
10 - 19
MELSEC-A
10 ADVANCED POSITIONING CONTROL
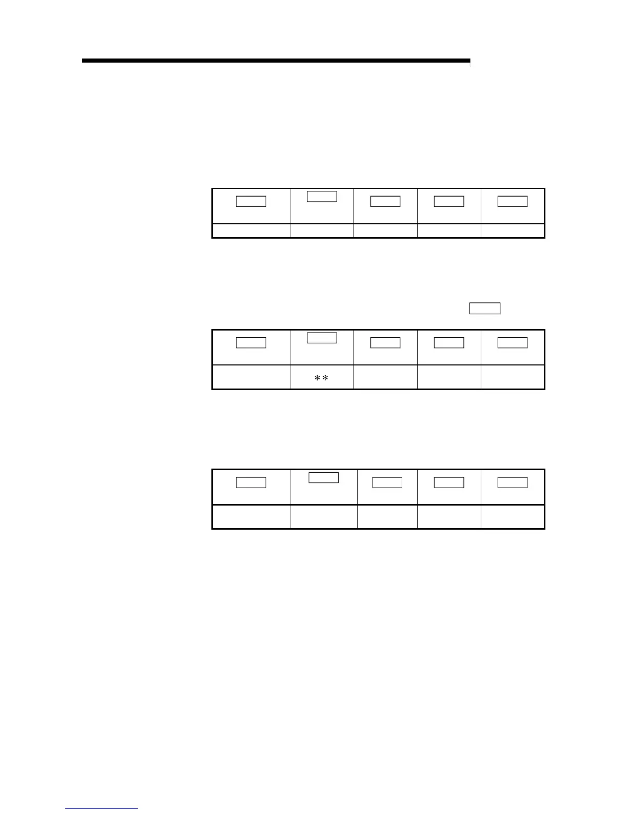
10.4.2 Condition data setting examples
The following shows setting examples for "condition data".
(1) Setting the device ON/OFF as a condition
[Condition] Device "X0" (=AD75 READY) is ON
Da.14
Condition target
Da.15
Condition
operator
Da.16
Address
Da.17
Parameter 1
Da.18
Parameter 2
01
H
: Device X 07
H
: DEV=ON – 0 –
(2) Setting the numeric value stored in the "buffer memory" as a
condition
[Condition]
The value stored in buffer memory addresses "800, 801" (="
Md.29 Current
feed value") is "1000" or larger.
Da.14
Condition target
Da.15
Condition
operator
Da.16
Address
Da.17
Parameter 1
Da.18
Parameter 2
04
H
: Buffer memory
(2 words)
03
H
:
P1
800 1000
(3) Designating the axis and positioning data No. to be simultaneously
started in "simultaneous start"
[Condition]
Simultaneously starting "axis 2 positioning data No.3".
Da.14
Condition target
Da.15
Condition
operator
Da.16
Address
Da.17
Parameter 1
Da.18
Parameter 2
05
H
: Positioning
data No.
0A
H
: Axis 2
designation
High-order 16
bits "0003
H
"

Related product manuals