EasyManua.ls Logo

Mitsubishi A1SD75M2

Mitsubishi A1SD75M2
746 pages
To Next Page IconTo Next Page
To Next Page IconTo Next Page
To Previous Page IconTo Previous Page
To Previous Page IconTo Previous Page
Loading...
11 - 21
MELSEC-A
11 MANUAL CONTROL
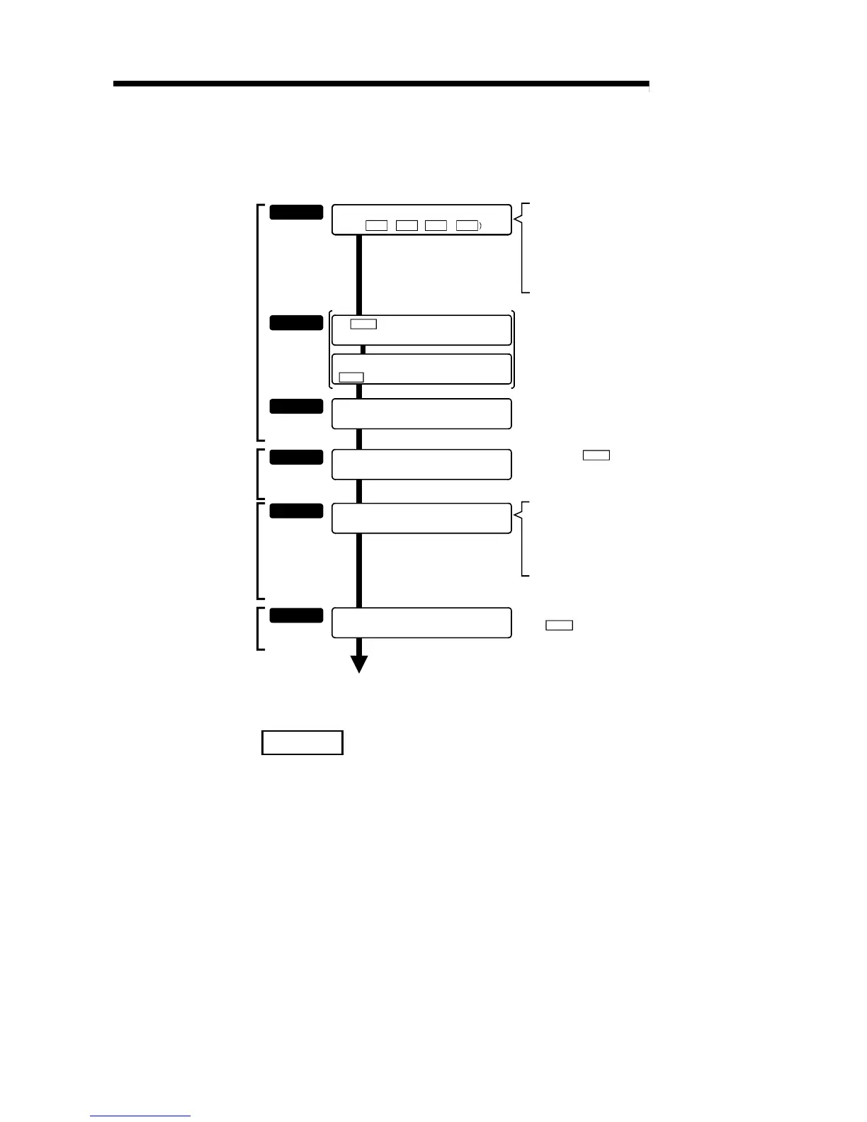
11.3.2 Manual pulse generator operation execution procedure
The manual pulse generator operation is carried out by the following procedure.
* Write the sequence program created in STEP 1 and
STEP 2 to the PLC CPU using the GPP function
software package.
* Using the GPP function software package, set the control
data and create a sequence program to enable/disable
the manual pulse generator operation. (Set the control data
in the AD75 buffer memory using the TO command.)
* One of the following two methods can be used.
<Method 1>
Directly set (write) the parameters in the AD75 using the
AD75 software package.
<Method 2>
Set (write) the parameters from the PLC CPU to the AD75
using the sequence program (TO command).
STEP 1
Manual pulse
generator operation
start
End of control
STEP 2
STEP 3
STEP 4
STEP 5
Issue a command to enable the manual pulse generator
operation, and input the signals from the manual pulse
generator.
End the input from the manual pulse generator,
and issue a command to disable the manual pulse
Manual pulse
generator operation
stop
STEP 6
Monitor the manual pulse generator operation.
Preparation
Refer to Chapter 5
and section 11.3.3.
Refer to section
11.3.4.
Write the sequence program to the PLC CPU.
* One of the following two methods can be used.
<Method 1>
Monitor using the AD75 software package.
<Method 2>
Monitor using the GPP function software package.
Monitoring of the
manual pulse
generator operation
Set " Cd. 23 Manual pulse generator 1 pulse input
magnification". (control data setting)
Create a sequence program in which the enable/disable is
(" Cd. 22 Manual pulse generator enable flag" setting.)
set for the manual pulse generator operation.
* Stop operating the manual pulse generator, and write "0"
in " Cd. 22 Manual pulse generator enable flag".
* Write "1" in " Cd.22 Manual pulse generator enable
flag", and operate the manual pulse generator.
Set the parameters
to
)
Pr.1 Pr.23 Pr.100 Pr.109
,to
REMARK
Mechanical elements such as limit switches are considered as already installed.
Parameter settings work in common for all control using the AD75.

Related product manuals