EasyManua.ls Logo

Mitsubishi A1SD75M3 - 9.1.3 Designating the positioning address

Mitsubishi A1SD75M3
746 pages
To Next Page IconTo Next Page
To Next Page IconTo Next Page
To Previous Page IconTo Previous Page
To Previous Page IconTo Previous Page
Loading...
9 - 13
MELSEC-A
9 MAIN POSITIONING CONTROL
9.1.3 Designating the positioning address
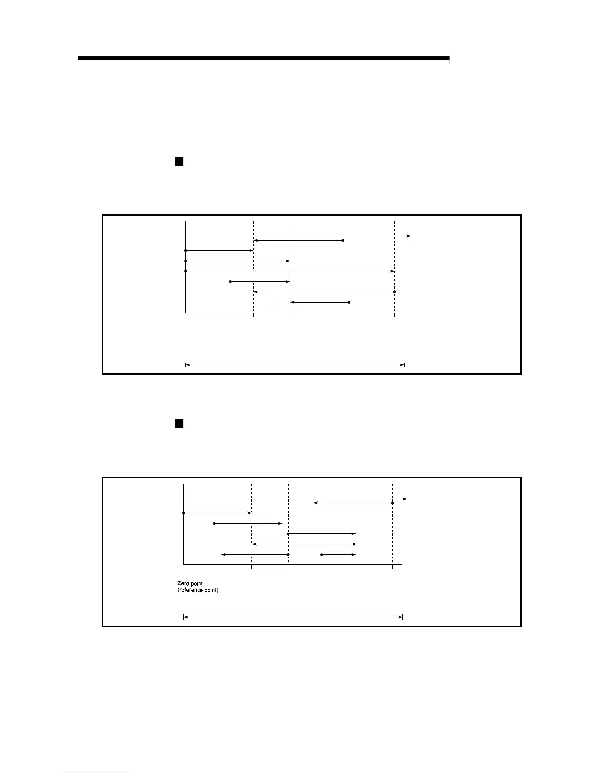
The following shows the two methods for commanding the position in control using
positioning data.
Absolute system
Positioning is carried out to a designated position (absolute address) having the
zero point as a reference. This address is regarded as the positioning address.
(The start point can be anywhere.)
Address
100
Address
150
Address
300
100
A point
150
B point
300
C point
Within the stroke limit range
Address 150
Address
100
Address 100
Address 150
Zero point
(reference point)
Start point
End point
·
Fig. 9.6 Absolute system positioning
Increment system
The position where the machine is currently stopped is regarded as the start point,
and positioning is carried out for a designated movement amount in a designated
movement direction.
Movement amount
+100
Movement
amount -150
Movement amount
-100
Movement amount+50
100 150 300
Movement amount-100
A point B point
Within the stroke limit range
C point
Movement amount
+100
Movement amount +100
Start point
End point
·
Fig. 9.7 Increment system positioning

Related product manuals