EasyManua.ls Logo

Mitsubishi A1SD75M3 - Page 461

Mitsubishi A1SD75M3
746 pages
To Next Page IconTo Next Page
To Next Page IconTo Next Page
To Previous Page IconTo Previous Page
To Previous Page IconTo Previous Page
Loading...
11 - 15
MELSEC-A
11 MANUAL CONTROL
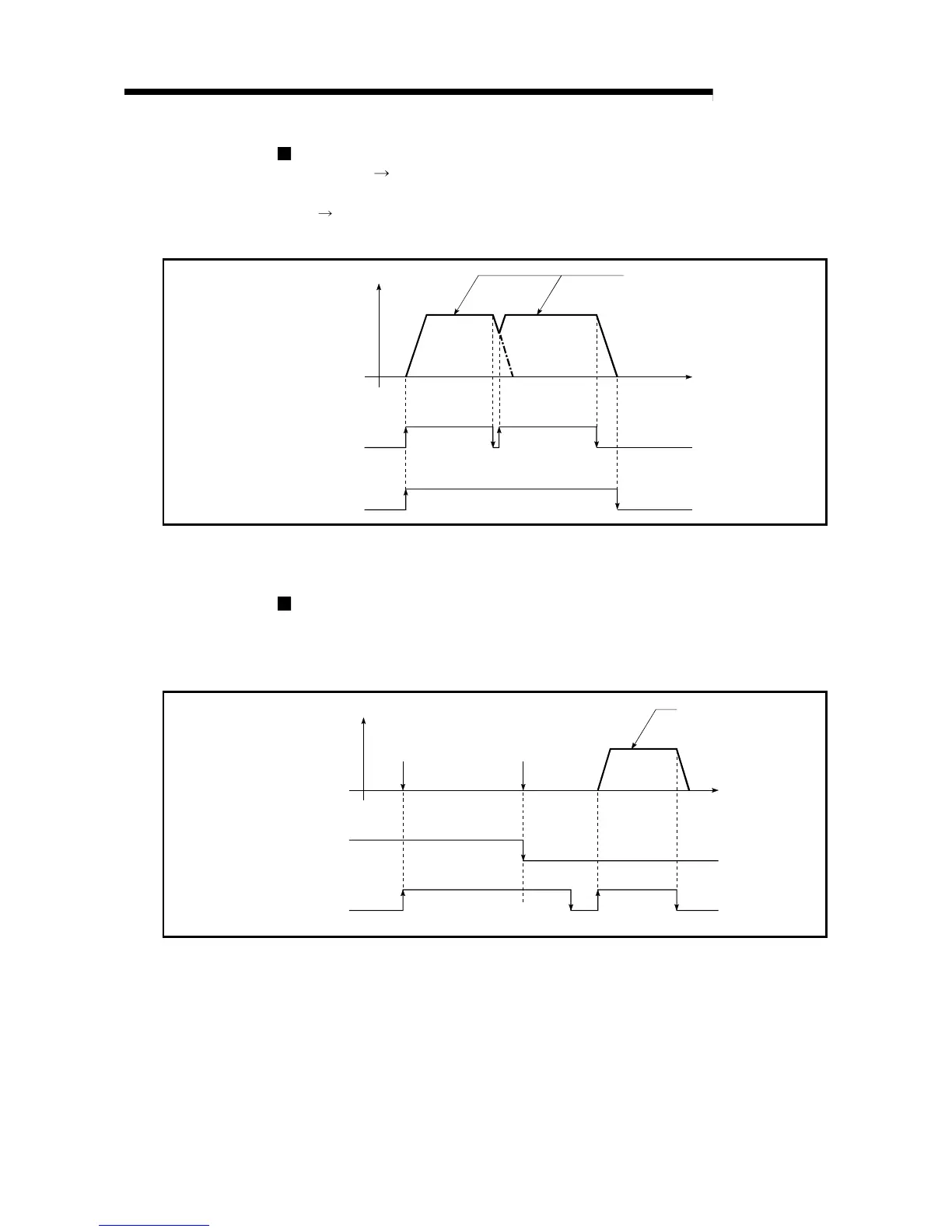
When the "JOG start signal" is turned ON again during deceleration caused
by the ON
OFF of the "JOG start signal"
When the "JOG start signal" is turned ON again during deceleration caused by the
ON
OFF of the "JOG start signal", the JOG operation will be carried out from the
time the "JOG start signal" is turned ON.
OFF
ON
t
BUSY signal
[X4, X5, X6]
OFF
ON
Forward JOG operatio
n
Forward JOG start
signal [Y16, Y18, Y1A]
Fig. 11.8 Operation when the JOG start signal is turned ON during deceleration
When the "JOG start signal" is turned ON during a peripheral device test
mode
When the "JOG start signal" is turned ON during a peripheral device test mode, it
will be ignored and the JOG operation will not be carried out.
In test mode
ON
t
Forward JOG start signal
[Y16, Y18, Y1A]
OFF
ON
OFF
Forward run JOG
operation executio
n
JOG operation not possible
because this is not the
rising edge of the JOG
start signal
JOG operation not
possible because
the operation is
in the test mode
Fig. 11.9 Operation when the JOG start signal is turned ON during a test mode

Related product manuals