EasyManua.ls Logo

Mitsubishi A1SD75M3 - Page 566

Mitsubishi A1SD75M3
746 pages
To Next Page IconTo Next Page
To Next Page IconTo Next Page
To Previous Page IconTo Previous Page
To Previous Page IconTo Previous Page
Loading...
12 - 94
MELSEC-A
12 CONTROL AUXILIARY FUNCTIONS
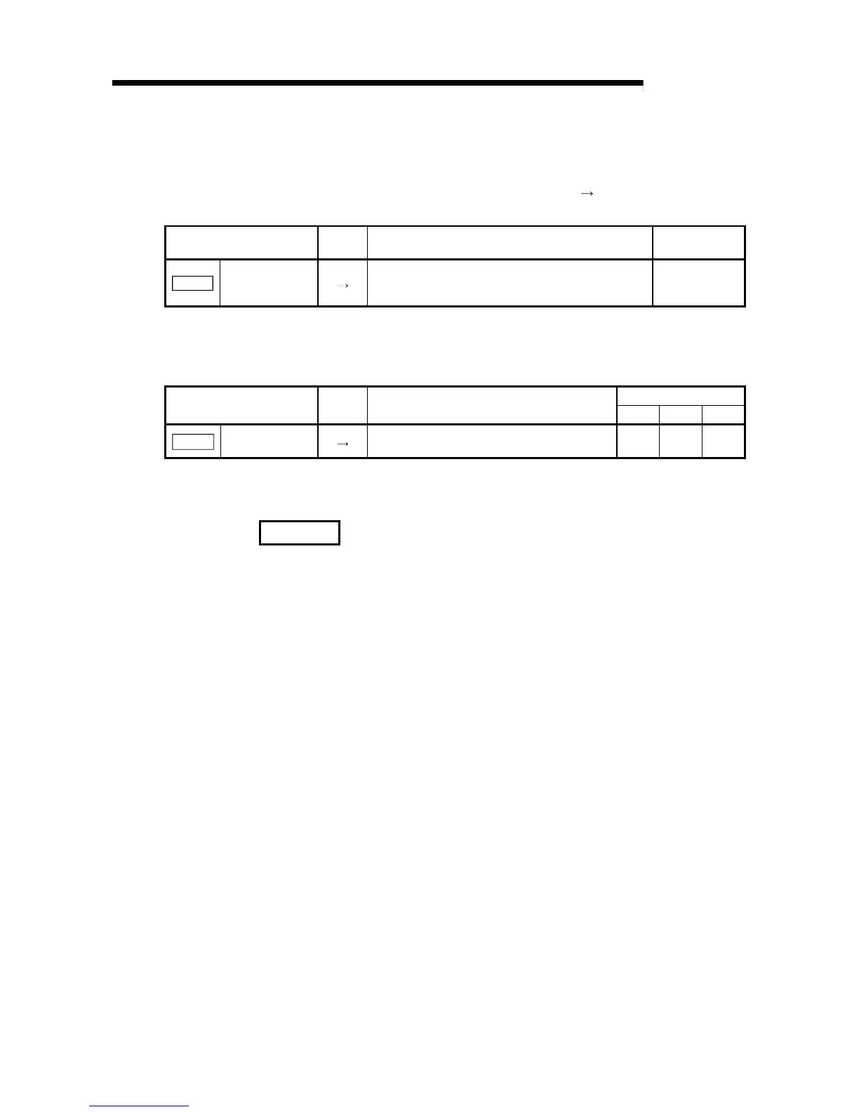
(3) Setting the command in-position function
To use the "command in-position function", set the required value in the
parameter shown in the following table, and write it to the AD75.
The set details are validated at the rising edge (OFF
ON) of the PLC READY
signal (Y1D).
Setting item
Setting
value
Setting details
Factory-set
initial value
Pr.17
Command in-
position width
Turn ON the command in-position flag, and set the
remaining distance to the stop position of the position
control.
100
* Refer to secion "5.2 List of parameters" for setting details.
(4) Confirming the command in-position flag
The "command in-position flag" is stored in the following buffer memory.
Buffer memory address
Monitor item
Monitor
value
Storage details
Axis 1 Axis 2 Axis 3
Md.40
Status
The command in-position flag is stored in the
"b2" position.
817 917 1017
* Refer to section "5.6 List of monitor data" for information on the storage details.
REMARK
Parameters are set for each axis.
It is recommended that the parameters be set whenever possible with the AD75
software package. Execution by sequence program uses many sequence
programs and devices. The execution becomes complicated, and the scan times
will increase.

Related product manuals