EasyManua.ls Logo

Mitsubishi A1SD75M3 - Page 57

Mitsubishi A1SD75M3
746 pages
To Next Page IconTo Next Page
To Next Page IconTo Next Page
To Previous Page IconTo Previous Page
To Previous Page IconTo Previous Page
Loading...
3 - 5
MELSEC-A
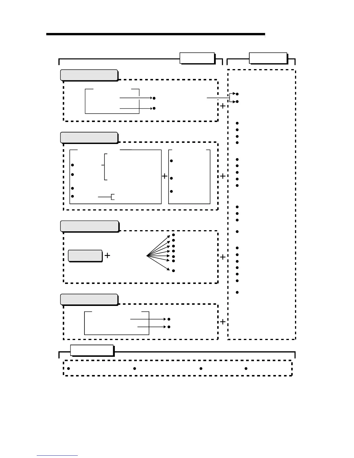
3 SPECIFICATIONS AND FUNCTIONS
Position control
Speed control
Speed/position changeover control
Other control
Parameter initialization function Execution data backup function LED display function Clock data function
Main functions Auxiliary functions
Zero point return control Control registered in AD75
[Positioning start No.]
[9002]
[9001]
Machine zero point return
High-speed zero point return
Main positioning control
Control using "Positioning data"
<Control method>
·1-axis linear control
·2-axis linear interpolation control
·1-axis fixed-dimension feed
control
·2-axis fixed-dimension feed
control
·2-axis circular interpolation
control
·Current value change
·JUMP command
<Operation
pattern>
Independent
positioning control
(positioning complete)
Continuous
positioning control
Continuous path
control
Advanced positioning control
Control using "positioning data"
+ "positioning start information"
Main positioning
control
[Positioning start
information]
Block start (Normal start)
Condition start
Wait start
Simultaneous start
Stop
Repeated start
(FOR loop)
Repeated start
(FOR condition)
Manual control
Control with signals input from external source
[Positioning start signal]
JOG start signal ON
Pulse input from manual
pulse generator
JOG operation
Manual pulse generator
operation
Common functions
(Functions characteristic to
machine zero point return)
Zero point return retry function
Zero point shift function
<Functions that compensate
control>
Backlash compensation function
Electronic gear function
Near pass mode function
Follow up processing function
<Functions that limit control>
Speed limit function
Torque limit function
Software stroke limit function
Hardware stroke limit function
Servo ON/OFF function
<Functions that change
control details>
Speed change function
Override function
Acceleration/deceleration
time change function
Torque change function
<Other functions>
Step function
Skip function
M code output function
Teaching function
Command in-position function
Acceleration/deceleration
process function
Indirectly specification
function

Related product manuals