EasyManua.ls Logo

Mod Con 300 - Page 40

Mod Con 300
76 pages
Print Icon
To Next Page IconTo Next Page
To Next Page IconTo Next Page
To Previous Page IconTo Previous Page
To Previous Page IconTo Previous Page
Loading...
39
GAS-FIRED BOILER Boiler Manual
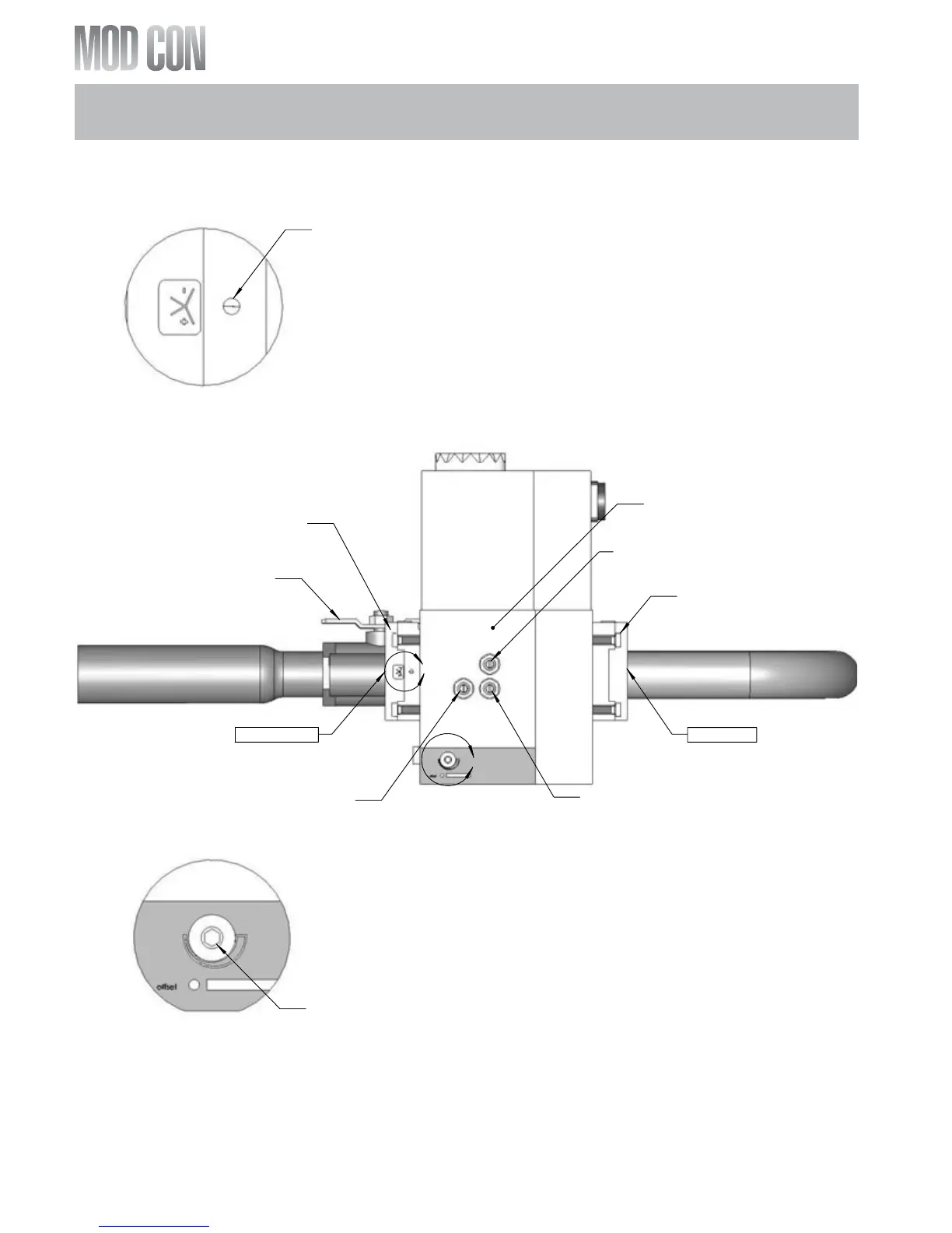
PART 7: GAS PIPING (CONTINUED)
DETAIL B
SCALE 2:1.5
GAS VALVE
VALVE
GAS INLET
GAS PRESSURE
SWITCH BLOCK
B
PRESSURE TAP
INTERMEDIATE
GAS SHUT OFF
GAS OUTLET
GAS PRESSURE
SWITCH BLOCK
A
GAS OUTLET
PRESSURE
TAP
THIS ADJUSTMENT COULD AFFECT CO/CO% LEVELS.
MAKE SURE THE LEVELS CORRESPOND TO THE CHART IN THE
COMBUSTION SETTINGS SECTION (FIG. 10-1)
THROTTLE ADJUSTER
NOTE: IF FOR ANY REASON THE THROTTLE NEEDS TO BE
ADJUSTED, IT IS VERY IMPORTANT THAT A COMBUSTION
ANALYZER BE USED TO ENSURE SAFE AND PROPER
OPERATION. TURN THE ADJUSTER TO THE (+) TO INCREASE
GAS SUPPLY OR TO THE (-) TO DECREASE GAS SUPPLY.
GAS INLET
PRESSURE
TAP
DETAIL A
SCALE 2:1.5
OFFSET ADJUSTMENT
CAUTION: DO NOT REMOVE THIS SCREW OR ATTEMPT TO
MAKE ANY ADJUSTMENT TO THIS SCREW WITHOUT USING
A COMBUSTION ANALYZER.
MOD CON 850 GAS VALVE
Fig. 7-3 LP-205-O Rev. 5/27/08

Table of Contents