EasyManua.ls Logo

mPower Electronics POLI MP400 - 2 User Interface; Displays and Keys

mPower Electronics POLI MP400
43 pages
Print Icon
To Next Page IconTo Next Page
To Next Page IconTo Next Page
To Previous Page IconTo Previous Page
To Previous Page IconTo Previous Page
Loading...
POLI User’s Guide
6
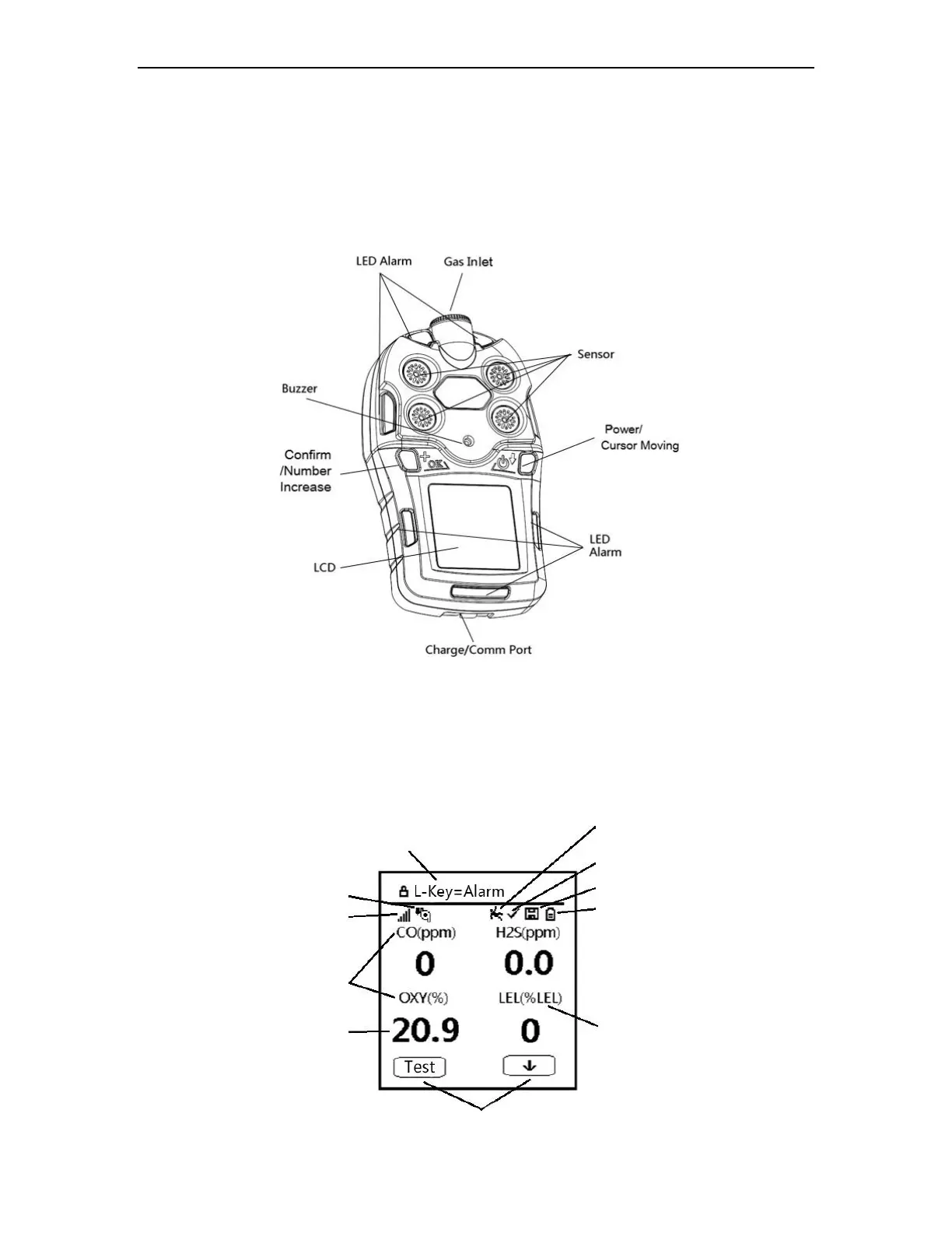
2. User Interface
The POLI’s user interface consists of two (2) keys, four (4) sensor sockets, one (1) big
LCD - Liquid Crystal Display, eight (8) alarm LEDs - Light Emitting Diodes, one (1)
buzzer, and two (2) vibration alarms.
2.1 Displays and Keys
The LCD provides visual information that includes real-time gas readings, sensor types,
datalog / battery / pump / wireless status, and others.
Notice information
Man Down alarm on
Valid on calibration & bump test
Datalog status
Battery status
Unit of measure
Reading value
Sensor type
Wireless status
Pump status