EasyManua.ls Logo

MTD 142-760 - Page 25

MTD 142-760
30 pages
Print Icon
To Next Page IconTo Next Page
To Next Page IconTo Next Page
To Previous Page IconTo Previous Page
To Previous Page IconTo Previous Page
Loading...
m
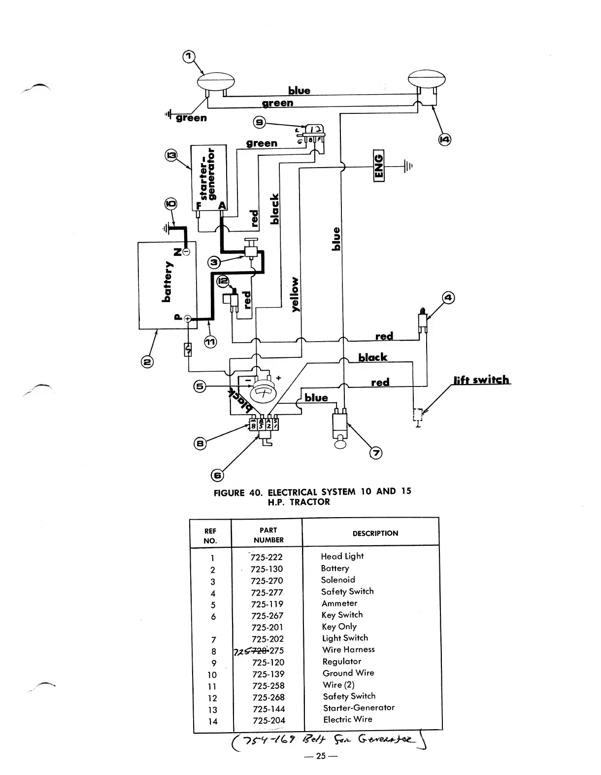
REF
NO.
PART
NUMBER
DESCRIPTION
1
'725-222
Head
Light
2
725-130
Battery
3
725-270
Solenoid
4
725-277
Safety
Switch
5
725-119
Ammeter
6
725-267
Key
Switch
725-201
Key
Only
7
725-202
Light
Switch
8
7;jSr-?S0-275
Wire
Harness
9
725-120
Regulator
10
725-139
Ground
Wire
11
725-258
Wire
(2)
12
725-268
Safety
Switch
13
725-144
Starter-Generator
14
725-204
Electric
Wire
--—--f
-
J--
\
------p
25

Related product manuals