EasyManua.ls Logo

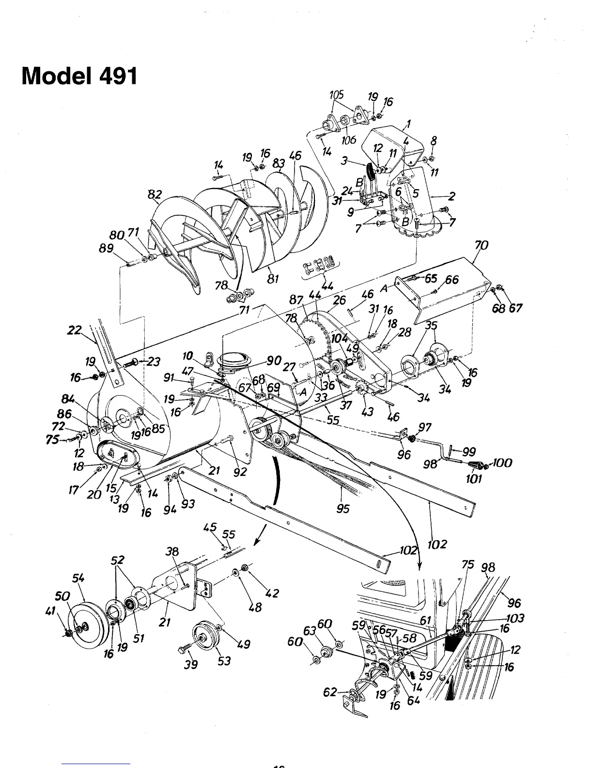
MTD 190-491 - Model 491 Exploded View

MTD 190-491
25 pages
Print Icon
To Next Page IconTo Next Page
To Next Page IconTo Next Page
To Previous Page IconTo Previous Page
To Previous Page IconTo Previous Page
Loading...

Related product manuals