EasyManua.ls Logo

MULTIQUIP R2000 - Carburetor Assembly

MULTIQUIP R2000
90 pages
Print Icon
To Next Page IconTo Next Page
To Next Page IconTo Next Page
To Previous Page IconTo Previous Page
To Previous Page IconTo Previous Page
Loading...
PAGE 56 —R2000 RIDE-ON STATIC ROLLER — OPERATION & PARTS MANUAL — REV. #2 (03/20/06)
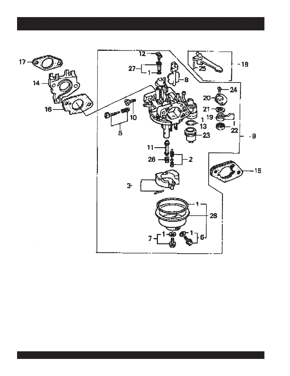
CARBURETOR ASSY.
HONDA GX240K1QAE2 ENGINE — CARBURETOR ASSY.